53cm Heavy-Duty Recycler/Rear Bagger Lawn Mower
Product Information
- Model number: 22291
- Serial number: 314000001 - 314999999
- Product Type: Walk Behind Mowers
Loading...
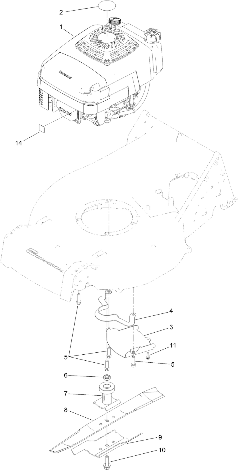
Assembly Drawings
Search for a part within assembly drawings:
-
Operator's Manual
-
Parts Catalogue
-
EU Declaration of Conformity
BLADE-21 INCH PALLET QTY (Part number 108-3762-03-PLT)
OIL - SYNTHETIC, ALL SEASON (Part number 117-0066)
Fuel Stabilizer, 4 oz. (Part number 117-0089)
Fuel Stabilizer, 16 oz. (Part number 117-0090)
CUP-ANTI SCALP (Part number 125-8440)
Engine Guard Kit, 21in or 53cm Heavy-Duty Recycler/Rear Bagger Lawn Mo (Part number 130-9700)
Deck Side Guard Kit, 21in or 53cm Heavy-Duty Recycler/Rear Bagger Lawn (Part number 130-9701)
Rear Discharge Kit, Heavy-Duty Recycler/Rear Bagger Lawn Mowers (Part number 130-9734)
TORO 4-CYCLE SAE 30 OIL (32OZ BOTTLE) (Part number 38903)
Toro Walk Mower Cover (Part number 490-7462)
-
Model number
22291 -
Serial number
314000001 - 314999999 -
Product Name
53cm Heavy-Duty Recycler/Rear Bagger Lawn Mower -
Product Brand
Toro -
Product Type
Walk Behind Mowers -
Product Series
53cm Cast Deck -
Chassis Type
Cast Deck WPM -
Swath
53cm -
Discharge
Recycler & Rear Bagger -
Engine/Motor Manufacturer
Kawasaki -
Engine/Motor Type
4 Cycle -
Engine Starter
Recoil -
Transmission Type
Gear -
Traction Type
Rear WD
-
Engine: Engine Speed
2900±100 RPM -
Engine: Spark Plug
NGK BPR5ES -
Engine: Spark Plug Gap
.030"/ .76mm -
Chassis: Height of Cut Range
1" - 4.5" (25-114mm) -
Engine: Ignition Coil Air Gap
.010-.020" / .25-.5mm -
Engine: Engine Oil Type
0.65 L (22 oz.) 10W30 API SH, SJ, or equivalent





