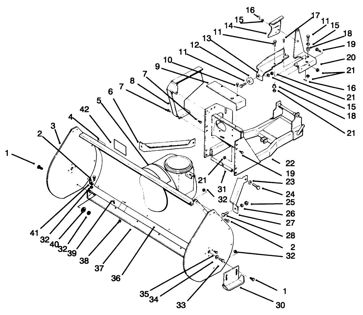
44" Two-Stage Snowthrower, 300 Series Garden Tractors
Product Information
- Model number: 79361
- Serial number: 4900001 - 4999999
- Product Type: Attachments
Loading...
Assembly Drawings
Search for a part within assembly drawings:
-
Operator's Manual
-
Parts Catalogue
-
Model number
79361 -
Serial number
4900001 - 4999999 -
Product Name
44" Two-Stage Snowthrower, 300 Series Garden Tractors -
Product Brand
Toro -
Product Type
Attachments -
Product Series
Attachments & Kits, Consumer Riding -
Swath
44 inch -
Transmission Type
Gear



