Pelle à neige électrique Power Shovel® 30 cm (12 po) 7,5 A
Informations produit
- Numéro de modèle : 38361
- Numéro de série : 310000001 - 310999999
- Type de produit : Snowthrowers
Chargement...
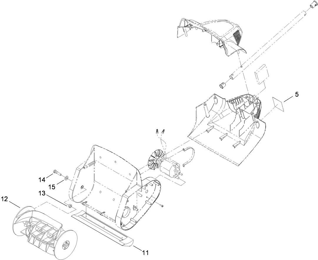
Schémas d'assemblage
Rechercher une pièce dans des schémas d'assemblage :
-
Manuel de l'utilisateur
-
Catalogue de pièces
-
Numéro de modèle
38361 -
Numéro de série
310000001 - 310999999 -
Nom du produit
Pelle à neige électrique Power Shovel® 30 cm (12 po) 7,5 A -
Marque du produit
Toro -
Type de produit
Snowthrowers -
Série de produit
Snowthrower, Electric -
Type de Châssis
Single Stage -
Largeur de travail
12 inch -
Éjection
Single Stage -
Taille de moteur
7.5 amp -
Type de moteur
120 VAC -
Démarreur
NA -
Type de transmission
NA


