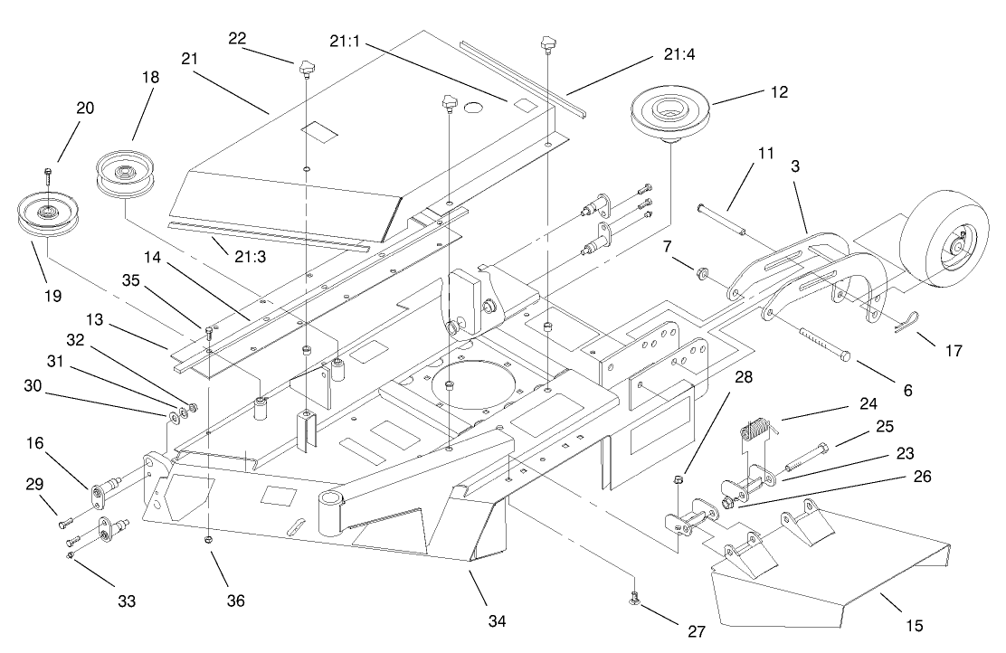
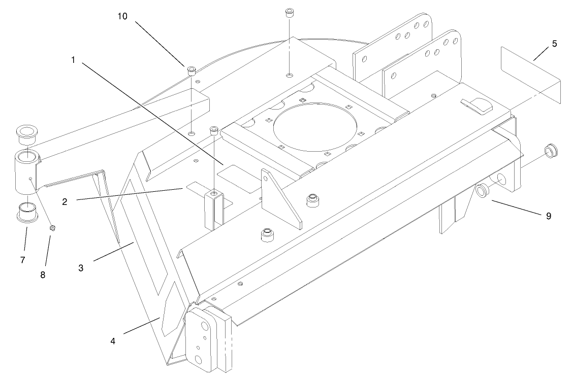
72" Flex Deck Side Discharge Mower, Groundsmaster 300 Series
Produktinformation
- Modellnr: 30799
- Serienr: 200000001 - 200999999
- Produkttyp: Attachments
Laddar ...
Monteringsritningar
Sök efter en artikel inom ritningar för montering:
-
Bruksanvisning
-
Reservdelskatalog
-
Servicebulletin
-
Modellnummer
30799 -
Serienr
200000001 - 200999999 -
Produktnamn
72" Flex Deck Side Discharge Mower, Groundsmaster 300 Series -
Produktmärke
Toro -
Produkttyp
Attachments -
Produktserie
Attachments








