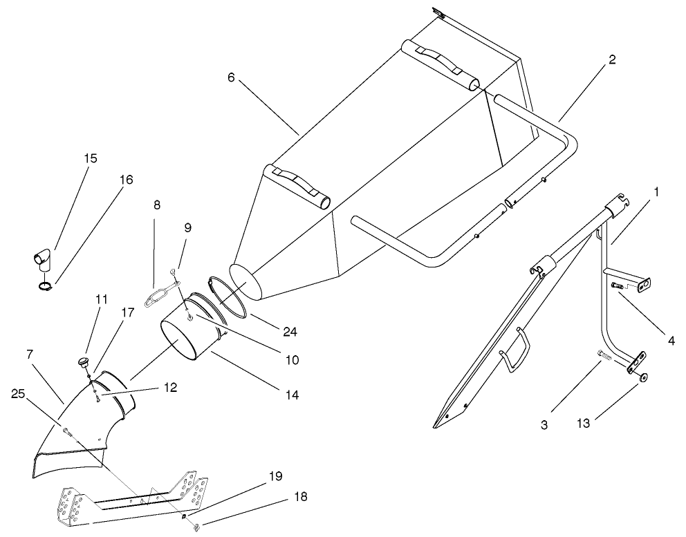
37" Soft Bag (4 bu.) for Floating Mid-Size Mowers
Produktinformation
- Modellnr: 30129
- Serienr: 210000001 - 210999999
- Produkttyp: Attachments
Laddar ...
Monteringsritningar
Sök efter en artikel inom ritningar för montering:
-
Reservdelskatalog
-
Monteringsanvisningar
-
Modellnummer
30129 -
Serienr
210000001 - 210999999 -
Produktnamn
37" Soft Bag (4 bu.) for Floating Mid-Size Mowers -
Produktmärke
Toro -
Produkttyp
Attachments -
Produktserie
Attachments & Kits, Mid-Size Mower
