Log Splitter
Produktinformation
- Modellnr: 23618
- Serienr: 412300000 - 414456950
- Produkttyp: Tree Care Products
Laddar ...
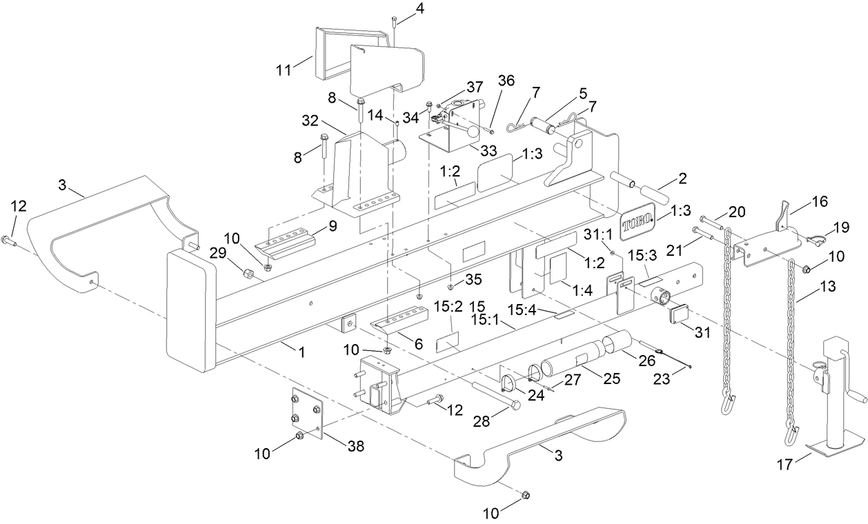
Monteringsritningar
Sök efter en artikel inom ritningar för montering:
-
Bruksanvisning
-
Reservdelskatalog
-
Produktgaranti
PX HYD FLUID (5 GAL) (Artikelnr 133-8086)
PX HYD FLUID (55 GAL) (Artikelnr 133-8087)
Spark Arrester Kit, Log Splitter (Artikelnr 137-0592)
KIT-PUMP, SERVICE (Artikelnr 137-4850)
KIT-CYLINDER, SERVICE (Artikelnr 137-4852)
OIL-30/10W-30 SYNTHETIC (Artikelnr 138-6053)
PX HYDRAULIC FLUID-4 PK GALLON (Artikelnr 138-9460)
10W30 4-CYCLE ENGINE OIL 32 OZ BOTTLE (Artikelnr 38280)
-
Modellnummer
23618 -
Serienr
412300000 - 414456950 -
Produktnamn
Log Splitter -
Produktmärke
Toro -
Produkttyp
Tree Care Products -
Motorstart
Recoil


