53cm Super Recycler Lawn Mower
Product Information
- Model number: 20792
- Serial number: 311000001 - 311999999
- Product Type: Walk Behind Mowers
Loading...
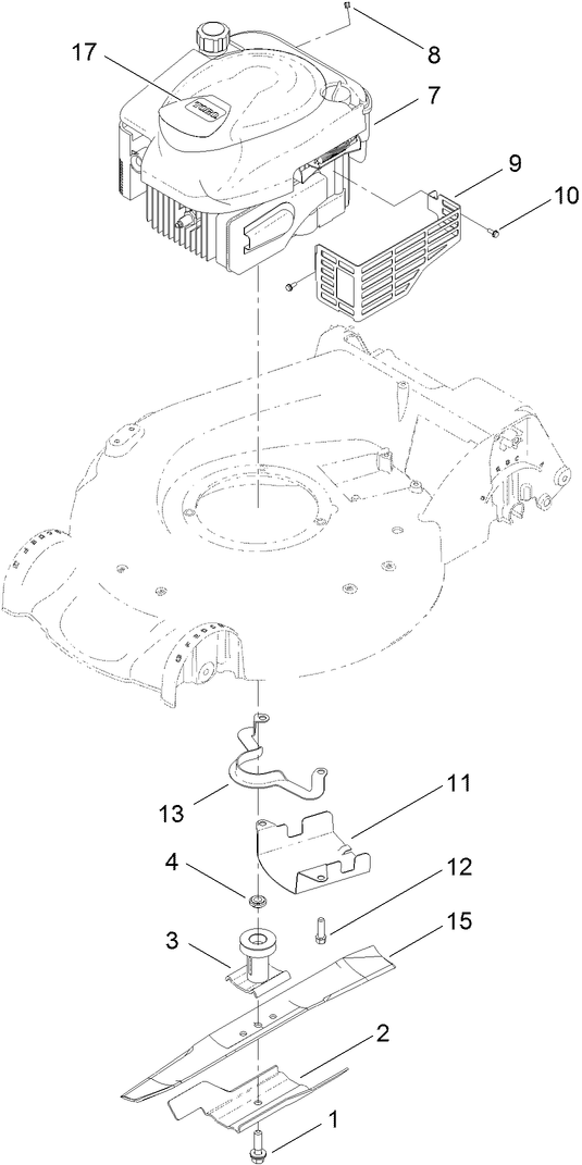
Assembly Drawings
Search for a part within assembly drawings:
-
Service Manual
-
Operator's Manual
-
Parts Catalogue
-
EU Declaration of Conformity
Traction Assist Handle Kit (Part number 108-8120)
Toro Walk Mower Cover (Part number 490-7462)
Plain Walk Mower Cover (Part number 490-7463)
-
Model number
20792 -
Serial number
311000001 - 311999999 -
Product Name
53cm Super Recycler Lawn Mower -
Product Brand
Toro -
Product Type
Walk Behind Mowers -
Product Series
21" (53cm) 3 in 1 / Recycler -
Chassis Type
Cast Deck WPM -
Swath
53cm -
Discharge
Recycler & Side and Rear Discharge & Rear Bag -
Engine/Motor Manufacturer
Briggs & Stratton -
Engine/Motor Type
4 Cycle -
Engine Starter
Recoil -
Transmission Type
Gear
-
Engine: Ignition Coil Air Gap
.010" / .25mm -
Engine: Spark Plug
Champion RJ19LM -
Engine: Spark Plug Gap
.030"/ .76mm -
Engine: Engine Speed
2800±100 RPM -
Chassis: Height of Cut Range
1.25-4.25", 1/2" increments -
Engine: Engine Oil Type
20 oz. (0.59 L) SAE 30 / API SF, SG, SH, SJ, SL, or higher






