Bore Drive Head Attachment
Product Information
- Model number: 22420
- Serial number: 220000001 - 220999999
- Product Type: Compact Utility Loaders, Attachments
Loading...
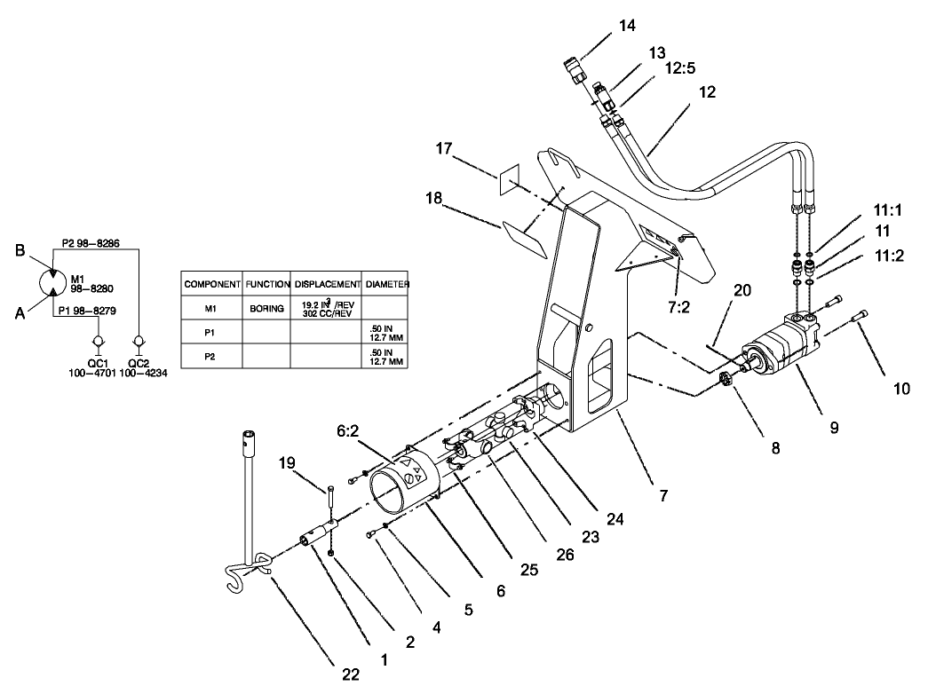
Assembly Drawings
Search for a part within assembly drawings:
-
Operator's Manual
-
Parts Catalogue
SEAL KIT (Part number 100-6120)
Rod and Reamer Kit (Part number 22421)
Easily bore under driveways and pavements to simplify irrigation and cable installations. Use with Bore Drive Head attachment model 22420. Working depth: 48 cm. Bits and reamers up to 8.9 cm (3.5") in diameter.
-
Model number
22420 -
Serial number
220000001 - 220999999 -
Product Name
Bore Drive Head Attachment -
Product Brand
Toro -
Product Type
Compact Utility Loaders, Attachments -
Product Series
Attachments & Kits, SWS & CUE

