0.5 m³ Topdresser 1800
Product Information
- Model number: 44225
- Serial number: 230000001 - 230999999
- Product Type: Attachments
Loading...
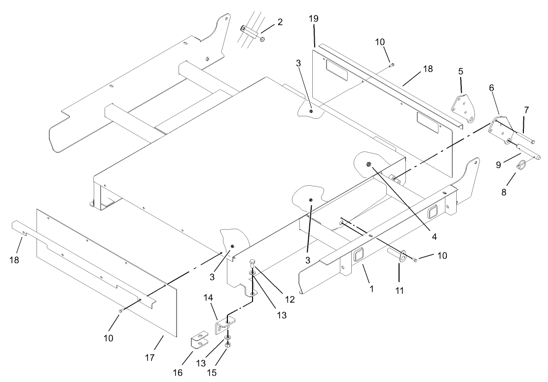
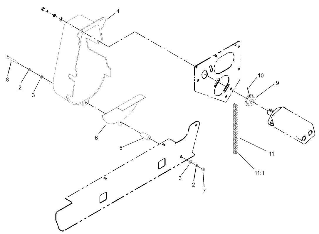
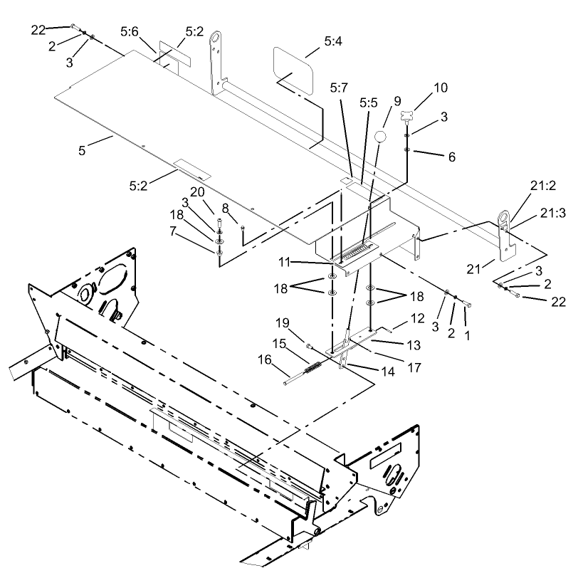
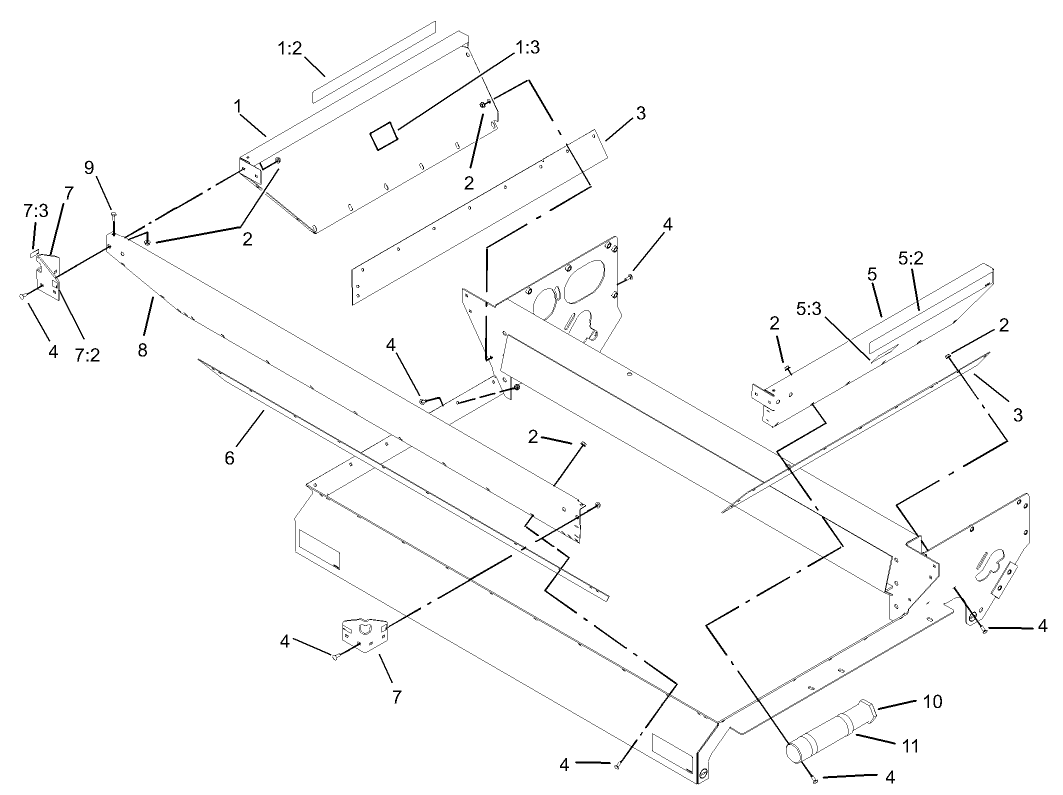
Assembly Drawings
Search for a part within assembly drawings:
-
Service Manual
-
Operator's Manual
-
Parts Catalogue
-
EU Declaration of Conformity
-
Service Bulletin
Red Spray Paint - Case of 6 (Part number 361-10)
Red Paint - Gallon Can (Part number 361-11)
PAINT-SPRAY, TORO SEMI-GLOSS BLACK (Part number 361-9)
-
Model number
44225 -
Serial number
230000001 - 230999999 -
Product Name
0.5 m³ Topdresser 1800 -
Product Brand
Toro -
Product Type
Attachments -
Product Series
Workman Series Accessories






