Versa Vac
Product Information
- Model number: 07053
- Serial number: 230000201 - 230999999
- Product Type: Commercial Debris Blower
Loading...
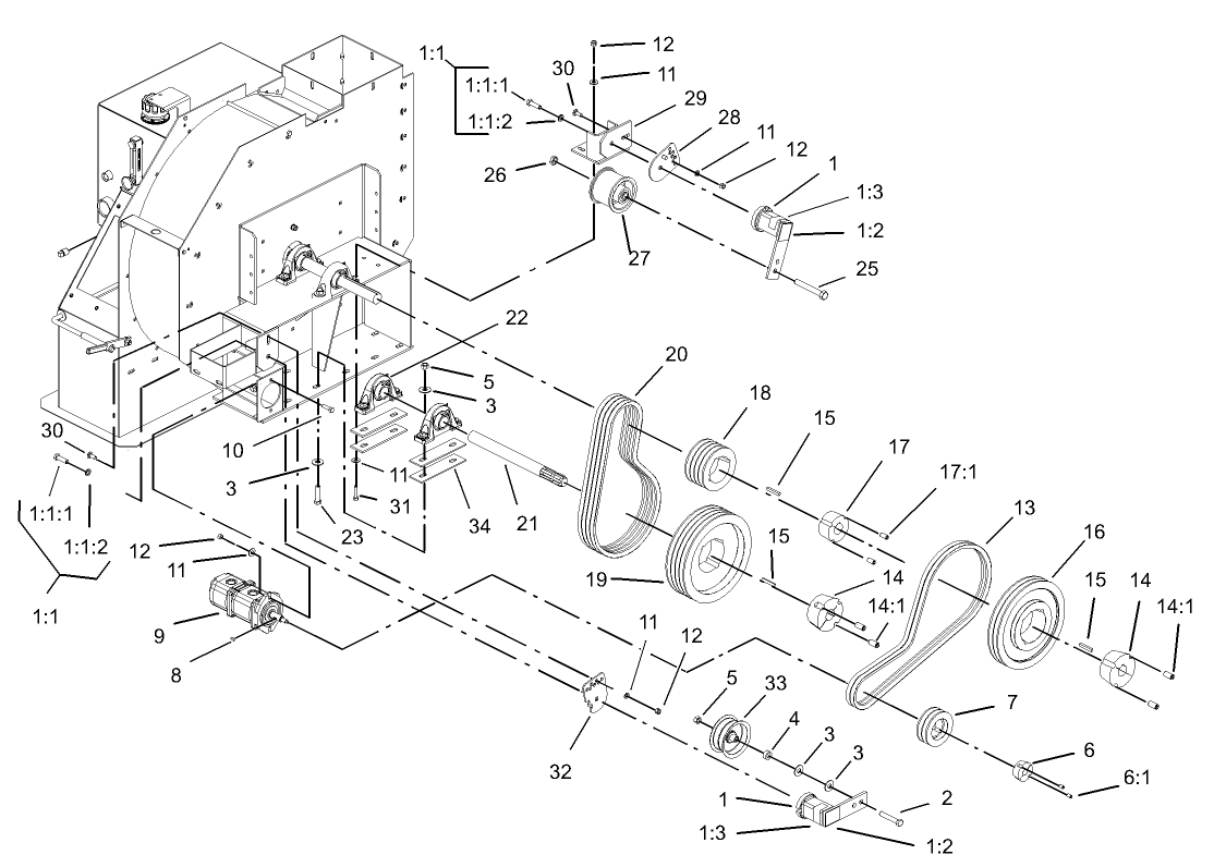
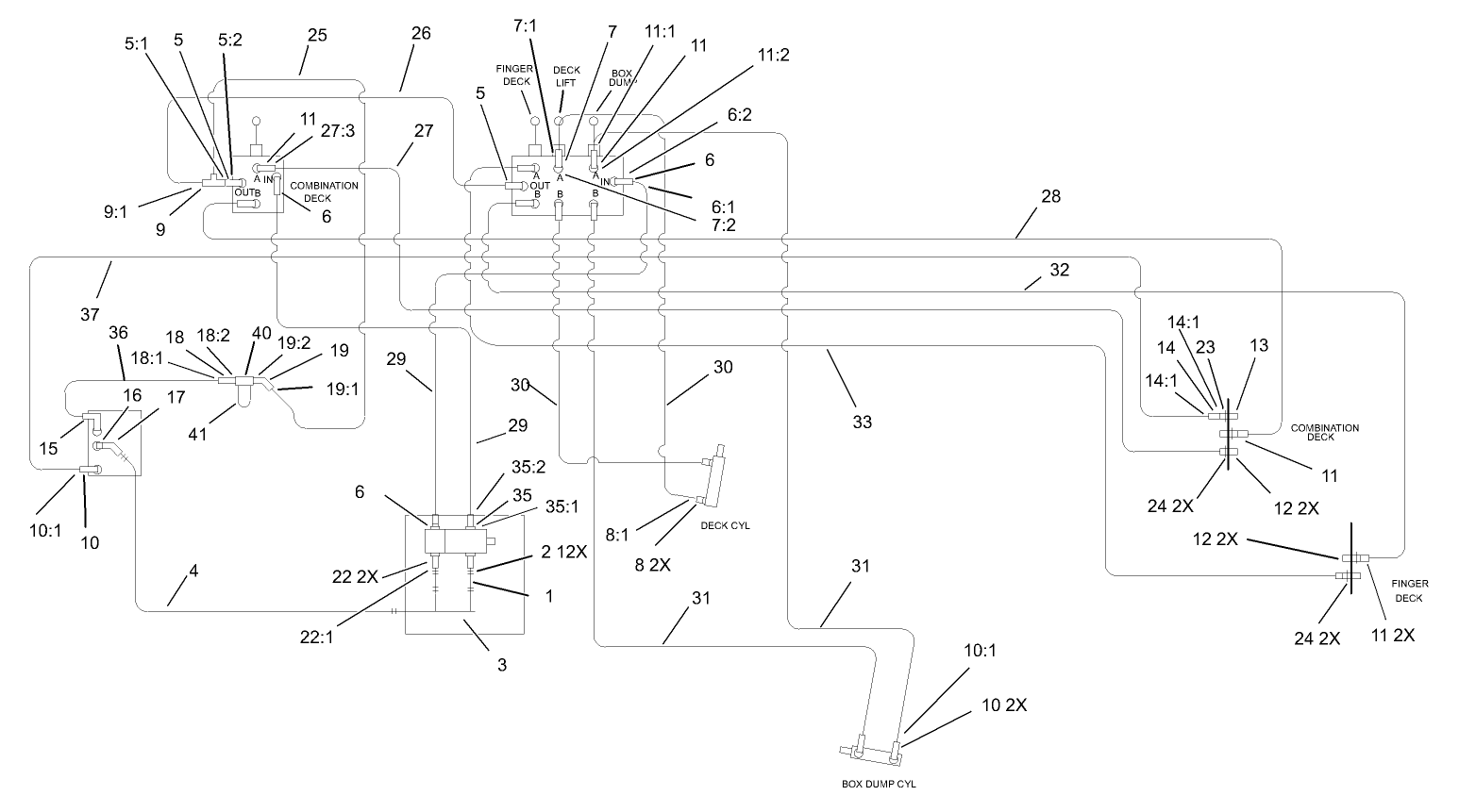
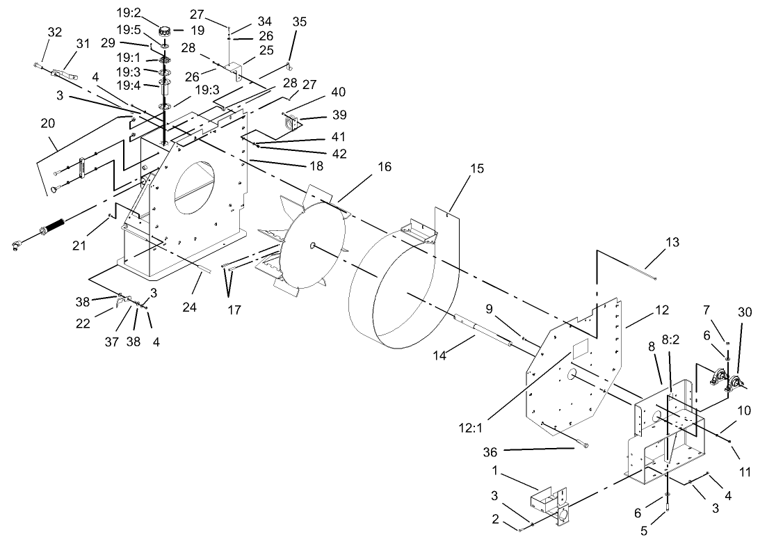
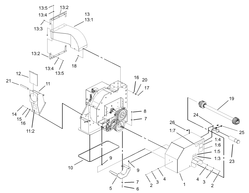
Assembly Drawings
Search for a part within assembly drawings:
-
Operator's Manual
-
Parts Catalogue
-
EU Declaration of Conformity
-
Service Bulletin
Hose Kit, Versa-Vac (Part number 07080)
Finger Deck, Versa Vac (Part number 07081)
Combination Deck, Versa Vac (Part number 07082)
66" Street Broom, Rake-O-Vac (Part number 07162)
66" Flex Tip Reel, Rake-O-Vac Sweeper (Part number 07164)
Thatcher Kit, Rake-O-Vac Sweeper (Part number 07178)
Safety Chain Kit (Part number 139-3179)
Red Spray Paint - Case of 6 (Part number 361-10)
Red Paint - Gallon Can (Part number 361-11)
PAINT-SPRAY, TORO SEMI-GLOSS BLACK (Part number 361-9)
Hand Held Hose - Mid Vac (Part number GVA 14700)
-
Model number
07053 -
Serial number
230000201 - 230999999 -
Product Name
Versa Vac -
Product Brand
Toro -
Product Type
Commercial Debris Blower -
Product Series
Turf Maintenance Equipment










