Tondeuse Super Recycler™ C53AST de 53 cm avec SmartStow® 21693
Informations produit
- Nº Modèle : 21693
- Nº Série : 420000000 - 999999999
- Type de produit : Walk Behind Mowers
Chargement...
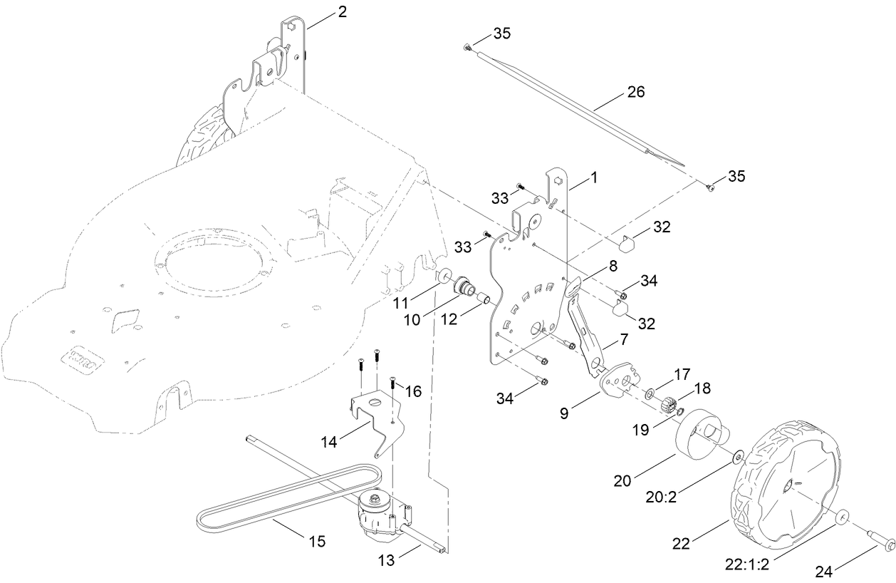
Schémas d’assemblage
Rechercher une pièce dans des schémas d'assemblage :
-
Manuel de l'utilisateur
-
Catalogue de pièces haute
-
Garantie produit
-
Déclaration de conformité UE / RU
-
Nº Modèle
21693 -
Nº Série
420000000 - 999999999 -
Nom du produit
Tondeuse Super Recycler™ C53AST de 53 cm avec SmartStow® 21693 -
Marque du produit
Toro -
Type de produit
Walk Behind Mowers -
Type de châssis
Walk Behind -
Largeur de travail
53cm -
Éjection
Recycler & Side and Rear Discharge & Rear Bag -
Fabricant du moteur
Briggs & Stratton -
Taille de moteur
163cc -
Type de moteur
4 Cycle -
Démarreur
Recoil -
Type de traction
Rear WD






