GrandStand® de 91 cm (36 po) 11,2 kW (15 cv) 541 cm³
Informations produit
- Numéro de modèle : 74534
- Numéro de série : 313000001 - 313999999
- Type de produit : Riding Products
Chargement...
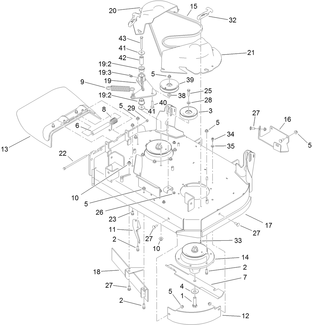
Schémas d'assemblage
Rechercher une pièce dans des schémas d'assemblage :
-
Manuel d'entretien
-
Manuel de l'utilisateur
-
Catalogue de pièces
-
Garantie du système de contrôle des émissions par évaporation
-
Instructions d'installation
18 Inch High Flow Blade (6 Pack) (Réf. 108-1117)
This sharp replacement Hi-Flow lawn mower blade provides a crisp, clean cut time after time. You can count on the quality and reliability of this Toro replacement Hi-Flow lawn mower blade. This Toro blade has multiple applications. Be sure to verify model and serial number to ensure the correct part.
Atomic Blade Pack (6) (Réf. 108-1118)
Toro OEM Atomic blade pack. (6) 18 Inch Atomic blades. Atomic blade is commonly referenced as a “Gator Style” or “Gator Blade”. Provides the best quality of cut while mulching. This Toro blade has multiple applications. Be sure to verify model and serial number to ensure the correct part.
Low Flow 18 Inch Blade Pack (6) (Réf. 110-0406)
Toro 18 Inch OEM Low Flow blade pack. (6) Low Flow blades. Low Flow mower blades have slightly curved ends that keep air Flow to a minimum. The lack of suction allows cut grass to exit the mower while keeping dust and debris levels down. Toro Low Flow mower blades cause less engine strain than Hi-Flow blades. This Toro blade has multiple applications. Be sure to verify model and serial number to ensure the correct part.
Recycler 18 Inch Blade Pack (6) (Réf. 110-0408)
Toro 18 Inch OEM Recycler blade pack. (6) Recycler blades. Recycler straight edge, standard discharge blade. The blade is designed for a High quality cut and long-lasting durability. These blades are designed with “wings,” called “accelerators” that kind of act like a fan — forcing the tiny bits of grass back into the earth. This Toro blade has multiple applications. Be sure to verify model and serial number to ensure the correct part.
Mid Flow 18 Inch Blade Pack (6) (Réf. 110-0409)
Toro 18 Inch OEM Medium Flow blade pack. (6) Medium Flow blades. Medium Flow mower straight edge, standard discharge blade. These blades have slight upward angle on the edges. Great blades for use when horsepower is a concern. Produce medium Flow but requires less horsepower than Hi-Flow blades. This Toro blade has multiple applications. Be sure to verify model and serial number to ensure the correct part.
Kit GrandStand Recycler de 102 cm (36 po) (Réf. 110-2080)
By adding the Toro Recycler system to your Toro GrandStand riding mower, you create your own natural fertilizer. The 36 in. Recycler Kit, when installed on compatible 36 in. deck Toro zero turn riding mowers, gives it the capability to mulch grass by cutting it multiple times turning it into fine clipping pieces. These are returned under the mower back into the soil to serve as natural fertilizer.
Kit d'éclairage GrandStand (Réf. 114-3505)
Rallongez vos horaires de tonte grâce à ce kit d'éclairage à DEL de haute intensité et faible ampérage, d'origine Toro. Ce kit d'éclairage est construit dans un logement en alliage d'aluminium coulé avec des fixations de montage et un faisceau de câblage en acier inoxydable, ainsi qu'un interrupteur à bascule éclairé. Pour assurer une excellente fiabilité, Toro fournit des pièces de rechange conçues en fonction des spécifications techniques exactes de votre machine. Pour votre tranquillité d'esprit, exigez des pièces Toro d'origine.
Hypr-Oil™ 500 (quart) (Réf. 114-4713)
High Performance Hydro Oil
Hypr-Oil™ 500 (gallon) (Réf. 114-4714)
High Performance Hydro Oil
HYPR-OIL 500-5 GALLON (Réf. 114-4715)
GrandStand Weight Kit (Réf. 117-3620)
Weight Kit for Toro Grandstand models. Helps distribute weight for a smooth ride and an even cut on rough terrain. When it comes to reliability, Toro delivers replacement parts designed to the exact engineering specifications of our equipment. For peace of mind, insist on Toro genuine parts.
Kit de traçage de bandes (Réf. 117-8560)
Le kit de traçage de bandes Toro vous permet de créer des motifs et rayures dignes de terrains de sport tout en tondant. Les kits de traçage de bandes couchent l'herbe dans le sens du déplacement. Les différences de direction réfléchissent la lumière et génèrent ainsi des rayures claires et foncées bien marquées sur votre pelouse. Réglable pour fournir une pression plus ou moins prononcée.
Kit volet de goulotte GrandStand (Réf. 117-8565)
Kit volet de goulotte Toro OEM. Protégez les personnes et les biens matériels contre les débris projetés et empêchez l'herbe d’être éjectée dans les parterres de fleurs et les allées, ce qui éviter d'avoir à ratisser, souffler et tondre à nouveau.
Kit poubelle (Réf. 121-7530)
Kit poubelle pour autoportée Toro d’origine. Pour assurer une excellente fiabilité, Toro fournit des pièces de rechange conçues en fonction des spécifications techniques exactes de votre machine. Pour votre tranquillité d'esprit, exigez des pièces Toro d'origine.
Spark Arrestor (Réf. 98-9099)
Toro OEM spark arrestor prevents carbon build ups from being ejected from the engine and igniting a fire.
-
Numéro de modèle
74534 -
Numéro de série
313000001 - 313999999 -
Nom du produit
GrandStand® de 91 cm (36 po) 11,2 kW (15 cv) 541 cm³ -
Marque du produit
Toro -
Type de produit
Riding Products -
Série de produit
Professional Grade Stand-on Mowers -
Type de Châssis
Stand On -
Largeur de travail
36 inch / 91 cm -
Éjection
Side -
Fabricant du moteur
Kawasaki -
Taille de moteur
15 hp -
Type de moteur
4 Cycle -
Démarreur
Electric -
Type de transmission
Hydrostatic -
Type de Traction
Rear WD
-
Engine: Battery
12V 300CCA -
Engine: Engine Speed
3600±100 RPM -
Engine: Spark Plug
NGK BPR4ES -
Engine: Spark Plug Gap
.030"/ .76mm -
Engine: Ignition Coil Air Gap
.008-.016" / .2-.4mm -
Chassis: Tire Pressure
12-14 psi rear -
Engine: Engine Oil Type
67 oz. (2.1 Liter) SAE 10W-30 or 10W-40 -
Chassis: Height of Cut Range
1-5", 1/4" increments -
Drive System: Gearbox Lubricant
HYPR-OIL 500 / 15w-50 Synthetic Motor Oil -
Drive System: Ground Speed
Up to 8 mph






















