Tondeuse autopropulsée Recycler® de 60 V MAX* et 53 cm (21 po) – batterie de 5,0 Ah incluse
Informations produit
- Numéro de modèle : 21326
- Numéro de série : 400000000 - 999999999
- Type de produit : Walk Behind Mowers
Chargement...
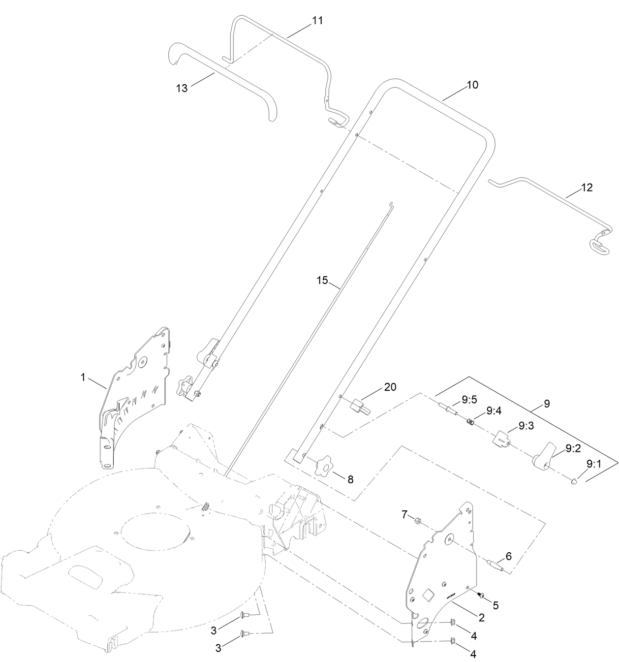
Schémas d'assemblage
Rechercher une pièce dans des schémas d'assemblage :
-
Manuel d'entretien
-
Manuel de l'utilisateur
-
Catalogue de pièces
-
Garantie produit
SD CHUTE KIT (Réf. 147-0520)
Kit de traçage de bandes pour tondeuses autotractées (Réf. 20601)
Le système Toro de traçage de bandes vous offre la possibilité d'ajouter en toute simplicité des bandes et des motifs pendant la tonte, pour donner à votre pelouse un aspect professionnel et une qualité digne d'un terrain de baseball. S'attache facilement à la plupart des tondeuses autotractées, et peut s'utiliser avec ou sans le bac de ramassage.
Souffleuse à neige monophase Power Clear® e21 de 60 V MAX* et 53 cm (21 po) – batterie non incluse (Réf. 39901T)
Pourquoi passer plus de temps qu’il ne faut dans la neige et le froid ? Avec la souffleuse à neige Toro Power Clear de 53 cm (21 po) et 60 V Max* (7,5 Ah, 405 Wh), (outil nu seuelement – chargeur et batterie vendus séparément), vous pouvez déneiger une grande superficie en un clin d’œil avec un minimum d'effort. Non seulement elle s’attaque à la neige la plus profonde et la projette plus loin, mais en plus, elle ne vous laisse jamais tomber et démarre au premier essai, à chaque fois. Cette souffleuse est idéale pour les surfaces bétonnées ou asphaltées et peut déneiger une allée de 12 voitures sur une pleine charge, avec une épaisseur de neige de 5 à 23 cm (2 à 9 po) à la fois. Les performances sont au rendez-vous toute l’année grâce à plus de produits dans la gamme d’outils à batterie Flex-Force, qu’il s’agisse de souffleurs, de débroussailleuses à fil, de tondeuses et bien d’autres encore.
La poignée et la goulotte rabattables facilitent le rangement ou le transport. Dimensions de rangement : 68,8 cm x 56,9 cm x 64,5 cm (27,1 po x 22,4 po x 25,4 po). Couverte par la garantie intégrale Toro de 2 ans sur les souffleuses à neige et la garantie intégrale de 3 ans sur les batteries.
* Tension de la batterie selon le fabricant = 60 V max., 54 V en condition d'utilisation typique. La tension réelle varie en fonction de la charge.
La poignée et la goulotte rabattables facilitent le rangement ou le transport. Dimensions de rangement : 68,8 cm x 56,9 cm x 64,5 cm (27,1 po x 22,4 po x 25,4 po). Couverte par la garantie intégrale Toro de 2 ans sur les souffleuses à neige et la garantie intégrale de 3 ans sur les batteries.
* Tension de la batterie selon le fabricant = 60 V max., 54 V en condition d'utilisation typique. La tension réelle varie en fonction de la charge.
Housse Smart Stow (Réf. 490-2012)
La housse pour tondeuses autotractées Toro SmartStow protège votre investissement en assurant une protection toutes saisons. Les housses Toro sont fabriquées en polyester 600 deniers robuste, résistant aux intempéries et résistant à la déchirure et à l'abrasion; elles offriront des années de protection assurée à votre tondeuse. Les housses Toro protègent contre la neige, les agressions du soleil, la pluie, la poussière, les oiseaux, la sève des arbres, et bien plus encore. Cette housse possède une ouverture élastique pour garantir un bon ajustement et un bon maintien.
Sac utilitaire Toro en toile (Réf. 490-7318)
Utilisez les sacs utilitaires en toile Toro pour ranger vos effets personnels ou ramasser les débris pendant la tonte. Doté de sangles amovibles, ce sac pratique s'accroche derrière votre tondeuse.
Souffleur de feuilles de 60 V MAX* et 17 m³/min (605 pi³/min) sans balais – batterie non incluse (Réf. 51820T)
Prenez en charge le nettoyage du jardin et les gros tas de feuilles, grâce au souffleur de feuilles Toro de 17 m³/min (605 pi³/min) à batterie de 60 V max* (outil uniquement – chargeur et batterie vendus séparément). Ce souffleur de 60 V sans cordon peut déblayer de larges tas de feuilles en un instant grâce à un volume d'air impressionnant de 17 m³/min (605 pi³/min) et une vitesse d'air de 193 km/h (120 mi/h). Contrôlez le souffleur du bout des doigts grâce à la commande de vitesse variable et au bouton Turbo Boost. Soulagez vos mains avec la fonction de régulateur de vitesse et la poignée ergonomique, conçues pour réduire la fatigue au niveau des bras. Facilitez-vous la vie avec plus de puissance, plus d’autonomie et une plus grande longévité du produit, grâce à un moteur CC sans balais hautes performances, qui surpasse les moteurs à balais. Avec une capacité de 135 Watt-heure, la batterie L135 offre une autonomie de 90 minutes à faible vitesse***. La batterie intelligente L135 est dotée d’un logiciel intelligent qui optimise l’autonomie et les performances. Les performances sont au rendez-vous toute l’année grâce à plus de produits dans la gamme d’outils à batterie Flex-Force, qu’il s’agisse de tondeuses, de débroussailleuses à fil ou de souffleuses à neige. Le leader de l'industrie en souffleurs électriques et autres solutions d’équipement de plein air propose désormais de puissants outils portatifs qui rivalisent avec les produits à essence.
* Tension de la batterie selon le fabricant = 60 V max., 54 V en condition d'utilisation typique. La tension réelle varie en fonction de la charge.
**Jusqu’à 17 m³/min (605 pi³/min) et 193 km/h (120 mi/h) max avec le Turbo Boost. Les performances annoncées sont basées sur des essais contrôlés en laboratoire.
****D'après des essais contrôlés en laboratoire à basse vitesse, réalisés sur la batterie L135.
* Tension de la batterie selon le fabricant = 60 V max., 54 V en condition d'utilisation typique. La tension réelle varie en fonction de la charge.
**Jusqu’à 17 m³/min (605 pi³/min) et 193 km/h (120 mi/h) max avec le Turbo Boost. Les performances annoncées sont basées sur des essais contrôlés en laboratoire.
****D'après des essais contrôlés en laboratoire à basse vitesse, réalisés sur la batterie L135.
Débroussailleuse à fil de 60 V MAX* et 40,6 cm (16 po) sans balais – batterie non incluse (Réf. 51830T)
Gérez l’herbe excessivement longue grâce à la débroussailleuse à fil Toro de 35,5/40,6 cm (14/16 po) à batterie de 60 V max*. Optez pour plus d’autonomie ou plus de puissance pour le travail à accomplir, en réglant la dimension du fil et/ou la longueur de coupe. Pas de bobines requises. Fil rapide et facile à remplacer. Il suffit d’enfiler le fil et de faire tourner la molette. Obtenez plus de puissance et une plus grande longévité pour votre débroussailleuse grâce au moteur CC sans balais hautes performances, qui surpasse les moteurs à balais. De plus, vous pouvez facilement adapter la vitesse en fonction du travail à accomplir, grâce à la commande de vitesse variable et aux deux gammes de vitesse au choix. Attendez-vous à une longévité et des performances exceptionnelles grâce à un couple moteur supérieur et une tête à entraînement direct en fonte d’aluminium. Avec une capacité de 135 Watt-heure, la batterie L135 (vendue séparément) offre une autonomie allant de 30 à 50 minutes** selon les réglages du fil. Flex-Force Power System est un système novateur comprenant un logiciel intelligent qui optimise l’autonomie et les performances. Les performances sont au rendez-vous toute l’année grâce à plus de produits dans la gamme d’outils à batterie Flex-Force, qu’il s’agisse de tondeuses, de souffleurs de feuilles ou de souffleuses à neige. Le leader de l'industrie en solutions d’équipement de plein air propose désormais de puissants outils portatifs qui rivalisent avec les produits à essence.
Couverte par une garantie limitée de 3 ans.
*Tension de la batterie selon le fabricant = 60 V max., 54 V en condition d'utilisation typique. La tension réelle varie en fonction de la charge.
**D'après des essais contrôlés en laboratoire à basse vitesse, réalisés sur la batterie L135.
Couverte par une garantie limitée de 3 ans.
*Tension de la batterie selon le fabricant = 60 V max., 54 V en condition d'utilisation typique. La tension réelle varie en fonction de la charge.
**D'après des essais contrôlés en laboratoire à basse vitesse, réalisés sur la batterie L135.
Taille-haies de 60 V MAX* et 60,96 cm (24 po) sans balais – batterie non incluse (Réf. 51840T)
Refaites une beauté à votre jardin avec le taille-haie Toro de 61 cm (24 po) à batterie de 60 V max*. Il peut effectuer les gros travaux en un rien de temps, grâce à une barre de coupe de 61 cm (24 po) et une capacité de coupe de 19 mm (¾ po). Obtenez une taille plus nette et plus efficace, avec moins de vibrations, grâce aux lames croisées de type ciseaux du système de coupe double action. Pratique et confortable, la poignée est conçue pour réduire la fatigue au niveau des bras. De plus, vous pouvez pivoter la poignée en appuyant sur un simple bouton, pour procéder à la taille verticale de manière simple, rapide et confortable. Coupez le cordon avec une autonomie allant jusqu’à 75 minutes sur une pleine charge** grâce à la batterie L135 (batterie non incluse et vendue séparément). Ayez l’esprit tranquille en sachant que Toro accompagne ses produits d’une garantie intégrale, et non d’une simple couverture limitée. La gamme Toro 60V comprend tout ce qu’il vous faut pour des performances en toutes saisons. La batterie universelle alimente tous les outils de la gamme Flex-Force, des tondeuses aux débroussailleuses à fil, en passant par les souffleuses à neige. Choisissez Toro en toute confiance pour gagner du temps, vous simplifier la vie et profiter d’un jardin sublime. Count on it. (Vous pouvez compter sur elle.)
* Tension de la batterie selon le fabricant = 60 V max., 54 V en condition d'utilisation typique. La tension réelle varie en fonction de la charge.
**D'après des essais contrôlés en laboratoire à basse vitesse, réalisés sur la batterie L135.
* Tension de la batterie selon le fabricant = 60 V max., 54 V en condition d'utilisation typique. La tension réelle varie en fonction de la charge.
**D'après des essais contrôlés en laboratoire à basse vitesse, réalisés sur la batterie L135.
Tronçonneuse de 60 V MAX* et 40,6 cm (16 po) sans balais – batterie non incluse (Réf. 51850T)
Attaquez-vous aux travaux les plus difficiles, grâce à ce nouvel outil qui vient compléter la gamme Toro à système d’alimentation Flex-Force de 60 V* : une tronçonneuse au lithium-ion facile à utiliser, qui offre une incroyable puissance et de superbes performances. Elle est compatible avec tous les outils Toro à système d’alimentation Flex-Force de 60 V. La tronçonneuse sans fil de 60 V, avec barre et chaîne de 40,6 cm (16 po), démarre facilement à chaque fois et vous permet de couper les grosses bûches et le bois comme un pro. Grâce à sa grande autonomie (une simple charge permet d’effectuer jusqu’à 50 coupes d’un morceau de bois de 15 x 15 cm / 6 x 6 po), vous pouvez travailler plus rapidement; et grâce au moteur sans balais de 60 V à commande numérique, vous disposez d’une plus grande puissance quand vous en avez besoin. Avec à cette tronçonneuse, idéale pour déblayer après un orage, tailler des arbres et couper des bûches, les travaux en extérieur sont un jeu d’enfant. (Batterie et chargeur non inclus et vendus séparément.)
* Tension de la batterie selon le fabricant = 60 V max., 54 V en condition d'utilisation typique. La tension réelle varie en fonction de la charge.
^D'après des essais contrôlés en laboratoire. L’autonomie/le nombre de coupes varieront selon les conditions.
* Tension de la batterie selon le fabricant = 60 V max., 54 V en condition d'utilisation typique. La tension réelle varie en fonction de la charge.
^D'après des essais contrôlés en laboratoire. L’autonomie/le nombre de coupes varieront selon les conditions.
60V BATTERY CHARGER 2 AMP (Réf. 88602)
60V MAX* Flex-Force 4.0Ah Lithium-Ion Battery (Réf. 88640)
Take charge of the yard with the Toro Flex-Force Power System 60V L216 Lithium-Ion battery. Get maximum power, performance and runtime from the intelligent battery software. The Flex-Force Power System automatically optimizes the interchangeable battery's performance for each product/application, so you always get the most out of your experience. When it comes to reliability, Toro delivers replacement parts designed to the exact engineering specifications of our equipment. For peace of mind, insist on Toro genuine parts.
60V MAX* Flex-Force 5.0Ah Lithium-Ion Battery (Réf. 88650)
Genuine OEM Parts
60V MAX* Flex-Force 6.0Ah Lithium-Ion Battery (Réf. 88660)
Le système Toro Flex-Force Power System® de 60 V* représente la batterie la plus puissante de sa catégorie. C'est un fait. C'est la seule batterie dont vous avez besoin pour arriver au bout de votre tâche sans aucun compromis. C'est une réelle innovation avec la configuration empilée « 3P » qui procure 3 fois plus de puissance, des performances maximale plus élevées et la capacité de poussez vos outils plus loin et plus longtemps. Elle est suffisamment adaptable pour fonctionner sur toute la gamme imbattable des outils Toro, des débroussailleuse et coupe-bordures à main jusqu'aux plus gros et plus féroces de notre gamme, y compris la marque de tondeuses et de souffleuses à neige n° 1 aux États-Unis. D’un outil à un autre, travail après travail. 60 volts pour tout ce que vous attendez d'une batterie : Plus facile. Plus rapide. Plus propre. Plus écologique. Plus silencieux. Pas de fil. Pas de désordre. Pas de problèmes. Pratiquement pas d'entretien. La puissance sans compromis.
La batterie L324 est compatible avec tous les outils Toro à système d’alimentation Flex-Force de 60 V. Le chargeur est compatible avec tous les outils Toro Flex-Force (88602).
*Tension de la batterie selon le fabricant = 60 V max., 54 V en condition d'utilisation typique. La tension réelle varie en fonction de la charge.
La batterie L324 est compatible avec tous les outils Toro à système d’alimentation Flex-Force de 60 V. Le chargeur est compatible avec tous les outils Toro Flex-Force (88602).
*Tension de la batterie selon le fabricant = 60 V max., 54 V en condition d'utilisation typique. La tension réelle varie en fonction de la charge.
60V MAX* Flex-Force 7.5Ah Lithium-Ion Battery (Réf. 88675)
Prenez soin du jardin grâce à la batterie au lithium-ion L405 de 60 V pour système d’alimentation Toro Flex-Force. Bénéficiez d’un maximum de puissance, de performance et d’autonomie avec le logiciel de batterie intelligent. Le système d'alimentation Flex-Force POwer System optimise automatiquement les performances de la batterie interchangeable en fonction du produit et de l’utilisation, pour une expérience toujours optimale.
-
Numéro de modèle
21326 -
Numéro de série
400000000 - 999999999 -
Nom du produit
Tondeuse autopropulsée Recycler® de 60 V MAX* et 53 cm (21 po) – batterie de 5,0 Ah incluse -
Marque du produit
Toro -
Type de produit
Walk Behind Mowers -
Série de produit
21" Steel Deck
-
Chassis: Height of Cut Range
1.25-3.75"; 1/2" increments








