55cm Recycler Lawn Mower
Produktinformation
- Modellnr: 20955
- Serienr: 310000001 - 310999999
- Produkttyp: Walk Behind Mowers
Laddar ...
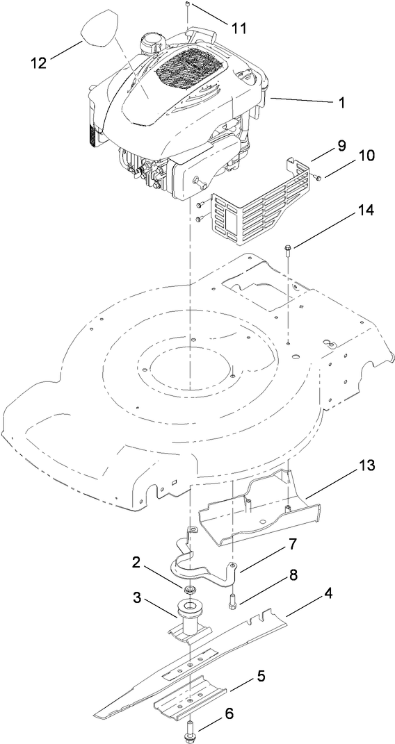
Monteringsritningar
Sök efter en artikel inom ritningar för montering:
-
Serviceanvisning
-
Bruksanvisning
-
Reservdelskatalog
-
EU-deklaration om överensstämmelse
Traction Assist Handle Kit (Artikelnr 108-8120)
BAG - REPL 2009 RWD RC (Artikelnr 59310)
BAG - REPL KIT 2009 RWD RC (Artikelnr 59312)
22in Blade Kit (Artikelnr 59534)
-
Modellnummer
20955 -
Serienr
310000001 - 310999999 -
Produktnamn
55cm Recycler Lawn Mower -
Produktmärke
Toro -
Produkttyp
Walk Behind Mowers -
Produktserie
55cm Steel Deck -
Chassityp
Steel Deck WPM -
Svep
55cm -
Utkastare
Recycler & Rear Bagger -
Motortillverkare
Briggs & Stratton -
Motorstorlek
190cc -
Motortyp
4 Cycle EPA2 -
Motorstart
Recoil -
Transmissionstyp
Gear -
Drivtyp
Rear WD
-
Chassis: Height of Cut Range
1" - 4" (2.5-10 cm)





