HoverPro® 450
Product Information
- Model number: 02616
- Serial number: 400000000 - 419999999
- Product Type: Walk Behind Mowers
Loading...
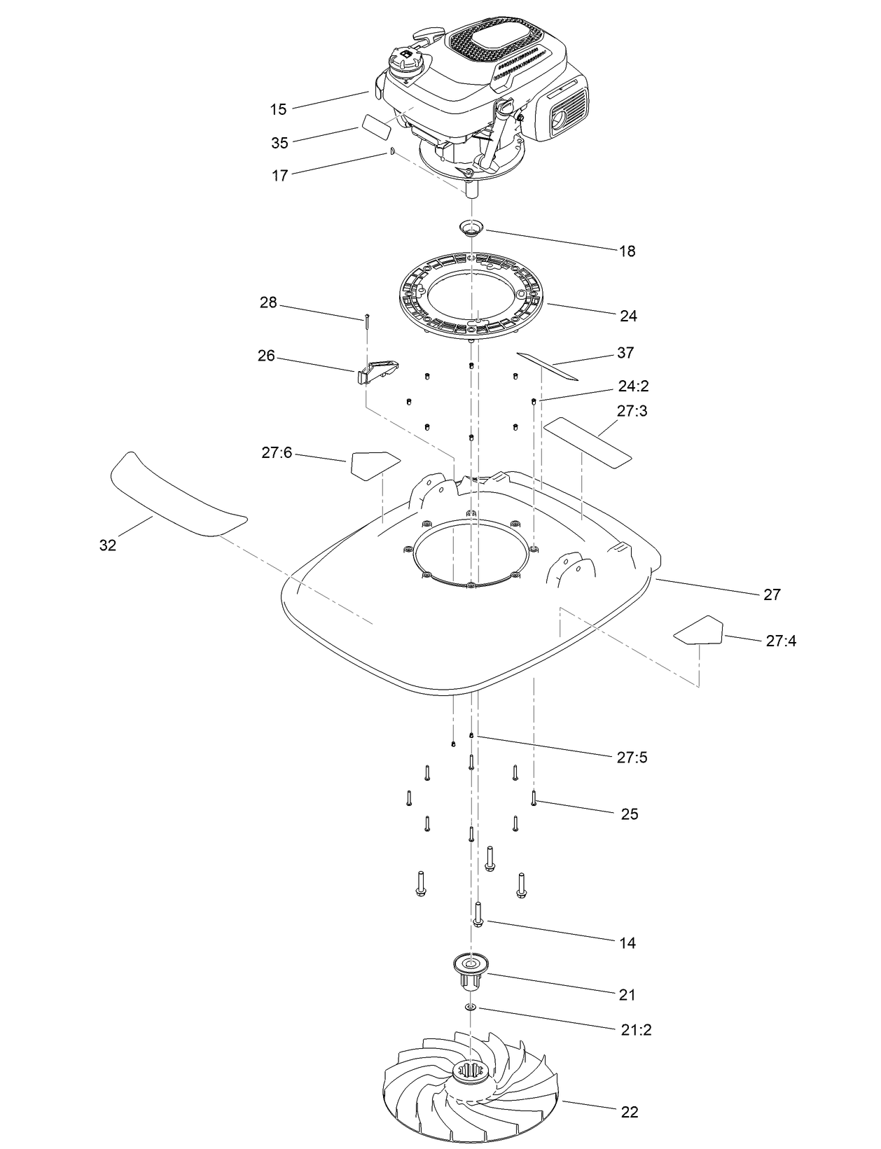
Assembly Drawings
Search for a part within assembly drawings:
-
Operator's Manual
-
Parts Catalogue
-
Setup Instructions
-
Addendum
-
EU/UK Declaration of Conformity
Handlebar Extension Kit, HoverPro 450/500/550 Mower (Part number 02623)
-
Model number
02616 -
Serial number
400000000 - 419999999 -
Product Name
HoverPro® 450 -
Product Brand
Toro -
Product Type
Walk Behind Mowers -
Product Series
HoverPro Rotary Mower -
Chassis Type
Walk Behind -
Swath
21 inch


