Série 4000 HDX Pro XL de 183 cm (72 po), 26 kW (35 cv), 999 cm³
Informations produit
- Numéro de modèle : 74022
- Numéro de série : 400000000 - 411999999
- Type de produit : Riding Products
Chargement...
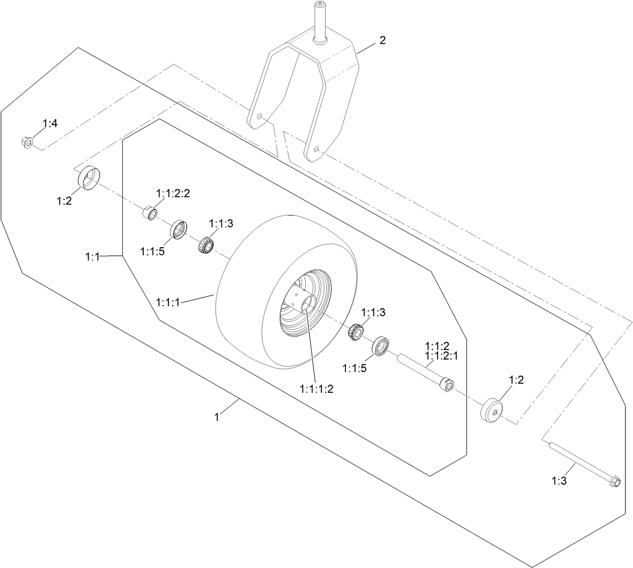
Schémas d'assemblage
Rechercher une pièce dans des schémas d'assemblage :
-
Manuel d'entretien
-
Manuel de l'utilisateur
-
Catalogue de pièces
-
Garantie produit
-
Instructions d'installation
Hypr-Oil™ 500 (quart) (Réf. 114-4713)
High Performance Hydro Oil
Hypr-Oil™ 500 (gallon) (Réf. 114-4714)
High Performance Hydro Oil
HYPR-OIL 500-5 GALLON (Réf. 114-4715)
SPARK ARRESTOR (Réf. 117-3281)
Striper Kit (Réf. 126-7882)
Riding Mower Jack Kit (Réf. 127-6666)
Genuine Toro jack mount kit. Mounts to the front of the mower and allows the owner to raise the mower to gain access to the underside of the deck to check blades or wash the deck. To best protect your investment and maintain optimal performance of your turf equipment, count on Toro genuine parts. When it comes to reliability, Toro delivers replacement parts designed to the exact engineering specifications of our equipment. For peace of mind, insist on Toro genuine parts.
72 Inch Recycler Kit (Réf. 139-6659)
The 72 in. Recycler Kit, when installed on compatible 42 in. deck Toro zero turn riding mowers, gives it the capability to mulch grass by cutting it multiple times turning it into fine clipping pieces. These are returned under the mower back into the soil to serve as natural fertilizer. When it comes to reliability, Toro delivers replacement parts designed to the exact engineering specifications of our equipment. For peace of mind, insist on Toro genuine parts.
24.5 Inch Mulching Blade (Réf. 140-1238)
Toro 24.5 Inch OEM mulching blade for Z Master Professional 7500-D Series Riding Mower, with 96in TURBO FORCE Rear Discharge Mower. Toro mulching blades feature more curves and an increased cutting edge. The curved surface and increased cutting edge allows the blade to cut the grass and bring it into the deck where it is cut several more times before falling back onto the lawn in much smaller pieces. . This Toro blade has multiple applications. Be sure to verify model and serial number to ensure the correct part.
24.50 Inch Atomic Blade (Réf. 140-1239)
Toro OEM 24.5 Inch Atomic blade. The Toro Atomic blade is commonly referenced as a “Gator Style” or “Gator Blade”. Provides the best quality of cut while mulching. This Toro blade has multiple applications. Be sure to verify model and serial number to ensure the correct part.
24.50 Inch Medium Flow Blade (Réf. 140-4850)
Toro 24.5 Inch OEM Medium Flow blade. Medium Flow mower straight edge, standard discharge blade. These blades have slight upward angle on the edges. Great blades for use when horsepower is a concern. Produce medium Flow but requires less horsepower than Hi-Flow blades. This Toro blade has multiple applications. Be sure to verify model and serial number to ensure the correct part.
24.50 Inch Low Flow Blade (Réf. 140-4851)
Toro 24.5 Inch OEM Low Flow blade. Low Flow mower blades have slightly curved ends that keep air Flow to a minimum. The lack of suction allows cut grass to exit the mower while keeping dust and debris levels down. Toro Low Flow mower blades cause less engine strain than Hi-Flow blades. This Toro blade has multiple applications. Be sure to verify model and serial number to ensure the correct part.
24.50 Inch Recycler Blade (Réf. 140-4852)
Toro 24.5 Inch OEM Recycler blade. Recycler straight edge, standard discharge blade. The blade is designed for a High quality cut and long-lasting durability. These blades are designed with “wings,” called “accelerators” that kind of act like a fan — forcing the tiny bits of grass back into the earth. This Toro blade has multiple applications. Be sure to verify model and serial number to ensure the correct part.
Hi-Flow Blade Pack (6) (Réf. 140-4872)
Toro 24.5 Inch OEM Hi-Flow blade pack. (6) Hi-Flow blades. This sharp replacement Hi-Flow lawn mower blade provides a crisp, clean cut time after time. You can count on the quality and reliability of this Toro replacement Hi-Flow lawn mower blade. This Toro blade has multiple applications. Be sure to verify model and serial number to ensure the correct part.
Mid Flow 24.5 Inch Blade Pack (6) (Réf. 140-4873)
Toro 24.5 Inch OEM Medium Flow blade pack. (6) Medium Flow blades. Medium Flow mower straight edge, standard discharge blade. These blades have slight upward angle on the edges. Great blades for use when horsepower is a concern. Produce medium Flow but requires less horsepower than Hi-Flow blades. This Toro blade has multiple applications. Be sure to verify model and serial number to ensure the correct part.
Low Flow 24.5 Inch Blade Pack (6) (Réf. 140-4874)
Toro 24.5 Inch OEM Low Flow blade pack. (6) Low Flow blades. Low Flow mower blades have slightly curved ends that keep air Flow to a minimum. The lack of suction allows cut grass to exit the mower while keeping dust and debris levels down. Toro Low Flow mower blades cause less engine strain than Hi-Flow blades. This Toro blade has multiple applications. Be sure to verify model and serial number to ensure the correct part.
Atomic 24.5 Inch Blade Pack (6) (Réf. 140-4875)
Toro OEM Atomic blade pack. (6) 24.5 Inch Atomic blades. Atomic blade is commonly referenced as a “Gator Style” or “Gator Blade”. Provides the best quality of cut while mulching. This Toro blade has multiple applications. Be sure to verify model and serial number to ensure the correct part.
Recycler 24.5 Inch Blade Pack (6) (Réf. 140-4876)
Toro 24.5 Inch OEM Recycler blade pack. (6) Recycler blades. Recycler straight edge, standard discharge blade. The blade is designed for a High quality cut and long-lasting durability. These blades are designed with “wings,” called “accelerators” that kind of act like a fan — forcing the tiny bits of grass back into the earth. This Toro blade has multiple applications. Be sure to verify model and serial number to ensure the correct part.
4000 Series Base Light Kit (Réf. 144-0389)
Genuine OEM Parts
4000 Series Electric Deck Lift Kit (Réf. 144-0390)
Genuine OEM Parts
KIT, JACK MOUNT (Réf. 144-2676)
HARDTOP SUN CANOPY (Réf. 144-3719)
Handle Extension Kit (Réf. 145-3615)
Genuine OEM Part
TRIMMER MOUNT (Réf. 145-8402)
4000 HDX 72IN COMPLETION KIT (Réf. 78467)
4000 HDX 72IN EZ VAC DFS BAGGER (Réf. 78474)
4000 HDX 72IN EZ VAC TRIPLE SOFT BAGG (Réf. 78489)
-
Numéro de modèle
74022 -
Numéro de série
400000000 - 411999999 -
Nom du produit
Série 4000 HDX Pro XL de 183 cm (72 po), 26 kW (35 cv), 999 cm³ -
Marque du produit
Toro -
Type de produit
Riding Products -
Série de produit
Zero Radius Turn, Commercial 4000 Series -
Type de Châssis
ZRT - LCE -
Largeur de travail
52 inch / 132 cm -
Éjection
Side Discharge -
Fabricant du moteur
Kawasaki -
Taille de moteur
35 hp -
Type de moteur
4 Cycle -
Démarreur
Electric -
Type de transmission
Hydrostatic -
Type de Traction
Rear WD
-
Engine: Battery
12V 300CCA -
Engine: Engine Speed
3600±100 RPM -
Engine: Spark Plug
NGK BPR5ES -
Engine: Spark Plug Gap
.030"/ .76mm -
Chassis: Tire Pressure
13 psi / 90 kPa -
Engine: Engine Oil Type
filter chg 64 oz.(1.9 L); no filter chg 58 oz.(1.7 L); 10W-30 above -4F(-20C) or 5W-20 below 32F(0C) -
Drive System: Ground Speed
0-11.5 mph / 0-18.5kph -
Chassis: Height of Cut Range
1.5" - 5.5" (38-140mm) -
Engine: Ignition Coil Air Gap
0.011in (0.3mm) -
Drive System: Gearbox Lubricant
HYPR-OIL 500 / 20w-50 Synthetic Motor Oil

























