Reelmaster® 3550
Informations produit
- Nº de modèle : 03910
- N° de série : 404900001 - 405999999
- Type de produit : Riding Products
Chargement...
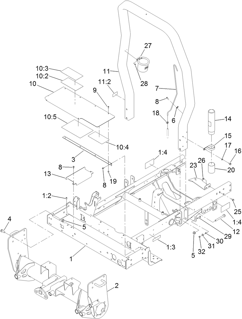
Schémas d’assemblage
Rechercher une pièce dans des schémas d'assemblage :
-
Manuel d'entretien
-
Manuel de l'utilisateur
-
Catalogue de pièces haute
-
Déclaration de conformité UE
-
Schéma électrique
-
Schéma hydraulique
18-inch 8-Blade DPA Cutting Unit, Reelmaster 3550 Series Traction Unit (N° de référence 03480)
18-inch 11-Blade DPA Cutting Unit, Reelmaster 3550 Series Traction Uni (N° de référence 03481)
22-inch 8-Blade DPA Cutting Unit, Reelmaster 3550 or 3555 Series Tract (N° de référence 03482)
22-inch 11-Blade DPA Cutting Unit, Reelmaster 3550 or 3555 Series Trac (N° de référence 03483)
PREMIUM ALL SEASON HYDRAULIC FLUID 55 GAL (N° de référence 108-1177)
PREMIUM ALL SEASON HYDRAULIC FLUID 5 GAL (N° de référence 108-1178)
PREMIUM ALL PURPOSE GREASE (N° de référence 108-1190)
Gauge Bar Assembly (N° de référence 108-6715)
Operator Fan Kit - US Sales Only, 3-Inch ROPS Post (N° de référence 110-8804)
Premium Synthetic Bio-Degradable Hydraulic Fluid (5 Gal) (N° de référence 119-2157)
PREMIUM SYNTHETIC BIO HYD FLUID (55 GAL) (N° de référence 119-2158)
TIRE ASM 22-12X12, TREADED (N° de référence 121-7924)
Brush and Handle Kit (N° de référence 29-9100)
MVP Filter Kit, Reelmaster 3550-D Series (N° de référence 30090)
Bimini Sunshade for 2-Post Roll-Over Protection System (N° de référence 30358)
BOX-DISPLAY, DIAGNOSTIC (N° de référence 85-4750)
-
Nº de modèle
03910 -
N° de série
404900001 - 405999999 -
Nom du produit
Reelmaster® 3550 -
Marque du produit
Toro -
Type de produit
Riding Products


































































