Workman® MDX multifunctioneel voertuig
Productinformatie
- Modelnr.: 07236TC
- Serienr.: 403450001 - 404950000
- Producttype: Vehicles
Laden...
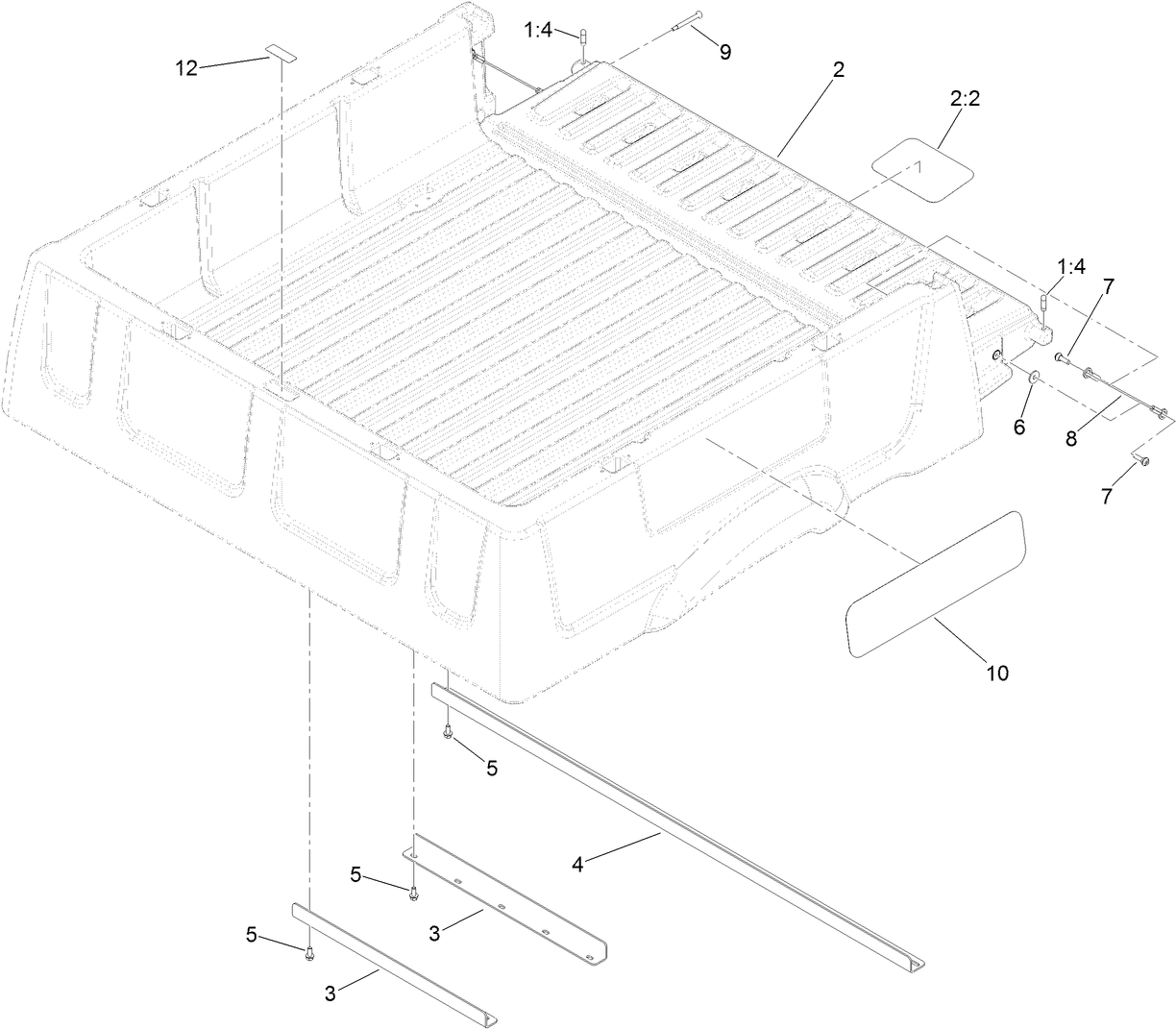
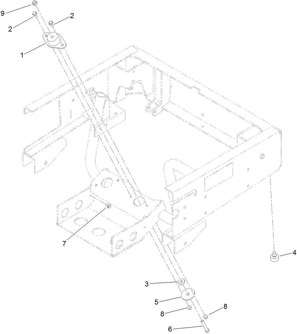
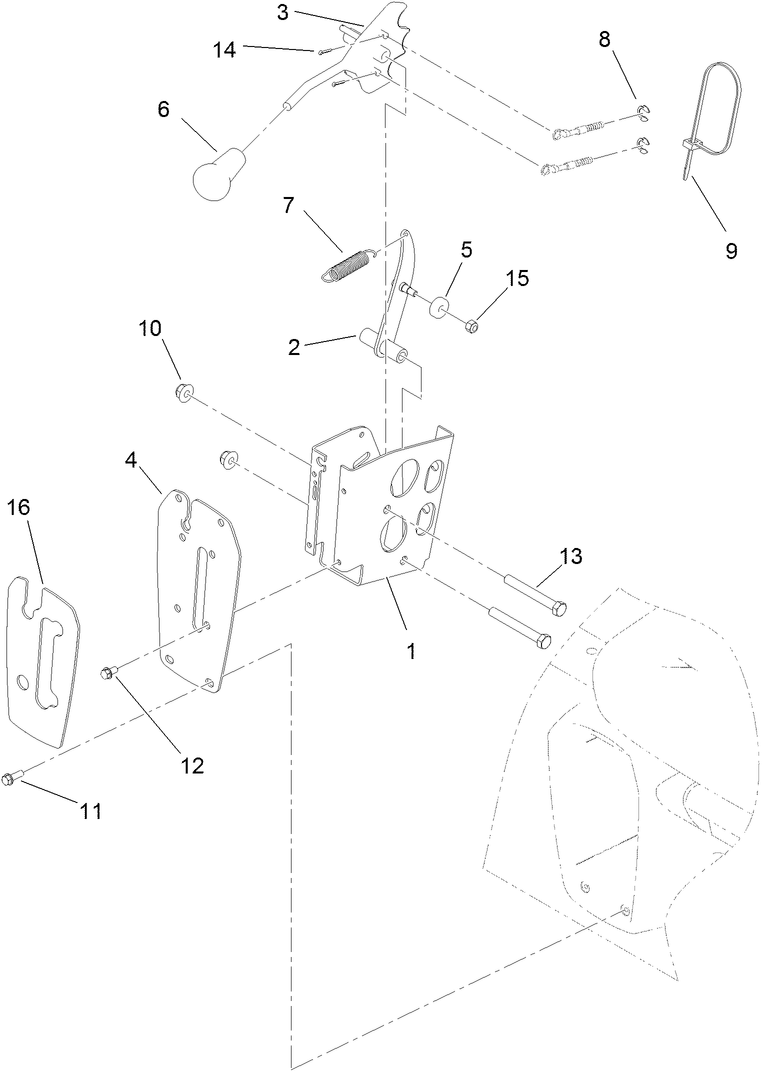
Montagetekeningen
Zoek een onderdeel in de montagetekeningen:
-
Onderhoudshandleiding
-
Gebruikershandleiding
-
Onderdelencatalogus
-
Schematische tekening - elektrisch
-
Onderhoudsbulletin
-
EU/VK-conformiteitsverklaring
Brush Guard Kit, Workman GTX or MDX Series Utility Vehicles (Onderdeelnr 07145)
Roll-Over Protection System, Workman 1100/2100/e2000 Series and Twiste (Onderdeelnr 07276)
Receiver Hitch Kit, Workman 1100/2100/2110 and Twister 1400/1600 Utili (Onderdeelnr 07278)
Cab Kit, Workman MD/MDE/MDX/MDXD Utility Vehicle (Onderdeelnr 07320)
Canopy Kit, Workman MD/MDX/MDE Utility Vehicle (Onderdeelnr 07324)
Solid Windshield Kit, Workman MD/MDX/MDE Utility Vehicle (Onderdeelnr 07325)
Folding Windshield Kit, Workman MD/MDX/MDE Utility Vehicle (Onderdeelnr 07326)
MD/HD HEATER KIT-LIQUID COOLED ENGINE (Onderdeelnr 07349)
Door Kit with Sliding Window, Workman MDX Utility Vehicle (Onderdeelnr 07356)
Electric Bed Lift Kit, 2014 and After Workman MD/MDX/MDX-D Utility Veh (Onderdeelnr 07389)
Heavy Duty AT 489 Rear Tire 24x10.50-10 (Onderdeelnr 104-7061)
Heavy Duty AT 489 Front Tire 22x9.50-10 (Onderdeelnr 104-7062)
Hourmeter, Wireless Hourmeter System (Onderdeelnr 115-4754)
Lift Wire Harness Kit, Workman MD/MDX Vehicle (Onderdeelnr 115-7823)
Backup Alarm Kit, Workman MD/MDX Vehicle (Onderdeelnr 115-7824)
Horn Kit, Workman MD/MDX/HD/HDX/HDX-D Vehicle (Onderdeelnr 115-7825)
Tapered Nozzle Kit, Pro Force Debris Blower (Onderdeelnr 119-6280)
Rectangular Nozzle Kit, Pro Force Debris Blower (Onderdeelnr 119-6281)
EXT-NOZZLE, STRAIGHT (Onderdeelnr 119-6282)
EXT-NOZZLE, TAPERED BD (Onderdeelnr 119-6283)
EXT-NOZZLE, RECTANGULAR BD (Onderdeelnr 119-6284)
Side Mirror Kit, Workman MD/MDX/MDE Utility Vehicle (Onderdeelnr 119-9546)
Stake Pocket Adapter Kit, 2011 and After Workman MD Series Utility Veh (Onderdeelnr 119-9604)
Tie-Down Kit, 2011 and After Workman MD Series Utility Vehicle (Onderdeelnr 119-9605)
Battery Kit, Workman MD/MDX Utility Vehicle (Onderdeelnr 119-9680)
Road Light and Homologation Kit, Workman MD Utility Vehicle (Onderdeelnr 120-5031)
Brake and Signal Light Kit, Workman MD Utility Vehicle (Onderdeelnr 120-5044)
Cargo Bed Installation Kit with Manual Dump, 2011 to 2013 Workman MD S (Onderdeelnr 127-7385)
Cargo Bed Installation Kit with Electric Lift, 2011 to 2013 Workman MD (Onderdeelnr 127-7386)
Exterior Mirror Kit, Workman MD/MDE/MDX/HDX Cab Kit (Onderdeelnr 130-5448)
Interior Mirror Kit, Workman MD/MDE/MDX/HDX Cab Kit (Onderdeelnr 130-5449)
Beacon Kit, Workman MD/MDE/MDX/HDX Cab Kit (Onderdeelnr 130-5484)
Work Light Kit, Workman MD/MDE/MDX/HDX Cab Kit (Onderdeelnr 130-5485)
Windshield Washer Fluid Kit, 2015 and after Workman MD/HD Series Utili (Onderdeelnr 130-5615)
Cargo Bed Installation Kit with Manual Dump, 2010 and Before Workman M (Onderdeelnr 131-3457)
HITCH ASM (Onderdeelnr 131-3462)
WRENCH-SPANNER (Onderdeelnr 132-5069)
LED Worklight Kit, Workman MD or HD Series Utility Vehicle (Onderdeelnr 133-0554)
ROPS Beacon Kit, Workman MD or HD Series Utility Vehicle (Onderdeelnr 133-0609)
Front Spring Kit, 2016 and After MDX or MDX-D Series Utility Vehicle (Onderdeelnr 133-0630)
SERVICE HOOD ASM (Onderdeelnr 133-7209)
Door Mount Mirror Kit, Workman GTX, HDX, and MD, Series Utility Vehicl (Onderdeelnr 136-1997)
Wireless Hour Meter Finish Kit, Workman MDX Utility Vehicle (Onderdeelnr 138-5698)
SCREEN - SPARK ARRESTOR (Onderdeelnr 94-8157)
-
Modelnr.
07236TC -
Serienr.
403450001 - 404950000 -
Productnaam
Workman® MDX multifunctioneel voertuig -
Productmerk
Toro -
Producttype
Vehicles




















































