Workman® GTX multifunctioneel voertuig
Productinformatie
- Modelnr.: 07409
- Serienr.: 409300000 - 409755301
- Producttype: Vehicles
Laden...
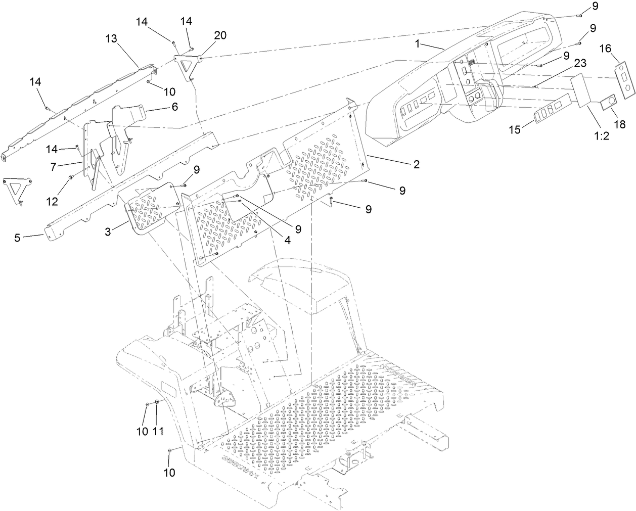
Montagetekeningen
Zoek een onderdeel in de montagetekeningen:
-
Onderhoudshandleiding
-
Gebruikershandleiding
-
Onderdelencatalogus
-
Schematische tekening - elektrisch
-
Onderhoudsbulletin
Hose Reel Mount Kit (Onderdeelnr 07027)
• Designed for Reel Craft, Cox Reels or similar models
• Can be mounted on front of vehicle with front receiver
Trash Can Mount (Onderdeelnr 07028)
• Designed for 32-gallon cans
• Can be mounted on front of vehicle with front receiver.
Walk Spreader Mounting Kit, Workman GTX Series Utility Vehicle (Onderdeelnr 07029)
Bed Rack Kit, Workman GTX Series Utility Vehicles (Onderdeelnr 07031)
ROPS KIT, WORKMAN GTX (Onderdeelnr 07032)
GTX CARGO BED KIT (Onderdeelnr 07046)
Bench Seat Base Kit, Workman GTX Series Utility Vehicles (Onderdeelnr 07047)
Bucket Seat Base Kit, Workman GTX Series Utility Vehicles (Onderdeelnr 07048)
Extension Kit, Workman GTX Series Utility Vehicles (Onderdeelnr 07049)
Fold-Down Rear Facing Seat, Workman GTX Utility Vehicle (Onderdeelnr 07123)
Cab Kit, Workman GTX Utility Vehicle (Onderdeelnr 07142)
12V Electric Lift Kit, Workman GTX Utility Vehicle (Onderdeelnr 07144)
Brush Guard Kit, Workman GTX or MDX Series Utility Vehicles (Onderdeelnr 07145)
Front Hitch Kit, Workman GTX Series Utility Vehicles with Brush Guard (Onderdeelnr 07146)
Front Hitch Kit, Workman GTX or MDX Series Utility Vehicles without Br (Onderdeelnr 07147)
STEEL FLAT BED KIT, WORKMAN GT (Onderdeelnr 07148)
Storage Box Kit, Workman GTX Series Utility Vehicles (Onderdeelnr 07156)
6in L-Track Kit, Workman GTX Utility Vehicle (Onderdeelnr 07158)
2in L-Track Kit, Workman GTX Utility Vehicle (Onderdeelnr 07159)
GTX BALL CAGE ROPS CERTIFIED (Onderdeelnr 07161)
12V 6' BED ELECTRIC LIFT KIT-WM GTX G (Onderdeelnr 07167)
CANOPY W/ ROPS - GTX (Onderdeelnr 07169)
Canopy Mount Kit, Workman GTX Utility Vehicle with Extended Flatbed (Onderdeelnr 07199)
LIFT KIT, WORKMAN GTX (Onderdeelnr 07414)
Aggressive Tire Kit, Workman GTX Series Utility Vehicles (Onderdeelnr 07423)
VAN BOX WORKMAN GTX (Onderdeelnr 07440)
FULL SHELF FOR VAN BOX, WORKMAN GTX (Onderdeelnr 07441)
WORKMAN GTX 2-PERSON CANOPY (Onderdeelnr 07921)
Folding Windshield Kit, Workman GTX Utility Vehicle with Canopy (Onderdeelnr 07923)
TIRE-20 8.00-10 (Onderdeelnr 116-7333)
SHIM-LIMITER (Onderdeelnr 119-0807)
Exterior Mirror Kit, Workman MD/MDE/MDX/HDX Cab Kit (Onderdeelnr 130-5448)
Interior Mirror Kit, Workman MD/MDE/MDX/HDX Cab Kit (Onderdeelnr 130-5449)
Beacon Kit, Workman MD/MDE/MDX/HDX Cab Kit (Onderdeelnr 130-5484)
Work Light Kit, Workman MD/MDE/MDX/HDX Cab Kit (Onderdeelnr 130-5485)
Windshield Washer Fluid Kit, 2015 and after Workman MD/HD Series Utili (Onderdeelnr 130-5615)
Small Seat Cover (Onderdeelnr 131-6690)
TIRE/WHEEL ASM (Onderdeelnr 131-8319)
Power Point Kit, Workman GTX or GTX Electric Utility Vehicle (Onderdeelnr 131-8550)
Brake and Signal Light Kit, Workman GTX Gas Series Utility Vehicle (Onderdeelnr 132-8579)
Wide Angle Mirror Kit, Workman GTX Utility Vehicle with Canopy (Onderdeelnr 133-1009)
Wide Angle Mirror Kit, Workman GTX Utility Vehicle (Onderdeelnr 133-1038)
Horn Kit, Workman GTX Utility Vehicle (Onderdeelnr 133-3016)
Reverse Alarm Kit, Workman GTX Utility Vehicle (Onderdeelnr 133-3018)
Parking Brake Alarm Kit, Workman GTX Utility Vehicle (Onderdeelnr 133-3019)
Spark Arrestor Screen Kit, Workman GTX Utility Vehicle (Onderdeelnr 133-7109)
BRACKET-MOUNT, RADIO (Onderdeelnr 133-7111-03)
BALL MOUNT-RAM (Onderdeelnr 133-7116)
Road Light and Homologation Kit, Workman GTX Series Utility Vehicle (Onderdeelnr 133-7128)
Cab Mount Kit, Workman GTX Utility Vehicle with Extended Flatbed (Onderdeelnr 133-7198)
SERVICE HOOD ASM (Onderdeelnr 133-7209)
Door Mount Mirror Kit, Workman GTX, HDX, and MD, Series Utility Vehicl (Onderdeelnr 136-1997)
MVP KIT 400 WORKMAN GTX (Onderdeelnr 136-6280)
Small Bedrack Mount Grip Kit, Workman GTX Utility Vehicle (Onderdeelnr 136-6311)
Large Bedrack Mount Grip Kit, Workman GTX Utility Vehicle (Onderdeelnr 136-6312)
WIRELESS HOURMETER KIT (Onderdeelnr 136-6323)
Glove Box Cover Kit, Workman GTX Utility Vehicle (Onderdeelnr 137-2883)
PLATE-SKID (Onderdeelnr 137-2886-03)
SWITCH-IGNITION ASM, KEY1 (Onderdeelnr 138-3500)
SWITCH-IGNITION ASM, KEY2 (Onderdeelnr 138-3501)
SWITCH-IGNITION ASM, KEY3 (Onderdeelnr 138-3502)
SWITCH-IGNITION ASM, KEY4 (Onderdeelnr 138-3503)
SWITCH-IGNITION ASM, KEY5 (Onderdeelnr 138-3504)
Tire only (Front) 20x10.00 -10 6 ply (Onderdeelnr 94-5236)
-
Modelnr.
07409 -
Serienr.
409300000 - 409755301 -
Productnaam
Workman® GTX multifunctioneel voertuig -
Productmerk
Toro -
Producttype
Vehicles
























