Groundsmaster 4500-D
Product Information
- Model number: 30856
- Serial number: 230000001 - 230000300
- Product Type: Riding Products
Loading...
Assembly Drawings
Search for a part within assembly drawings:
-
Service Manual
-
Operator's Manual
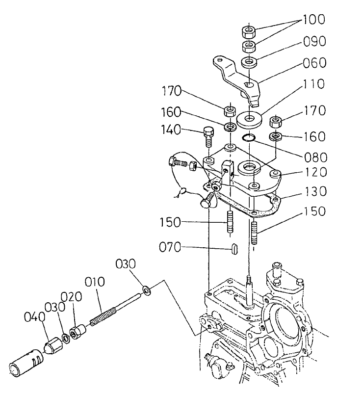
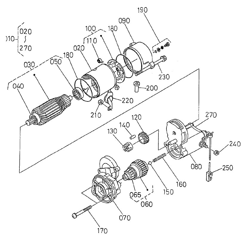
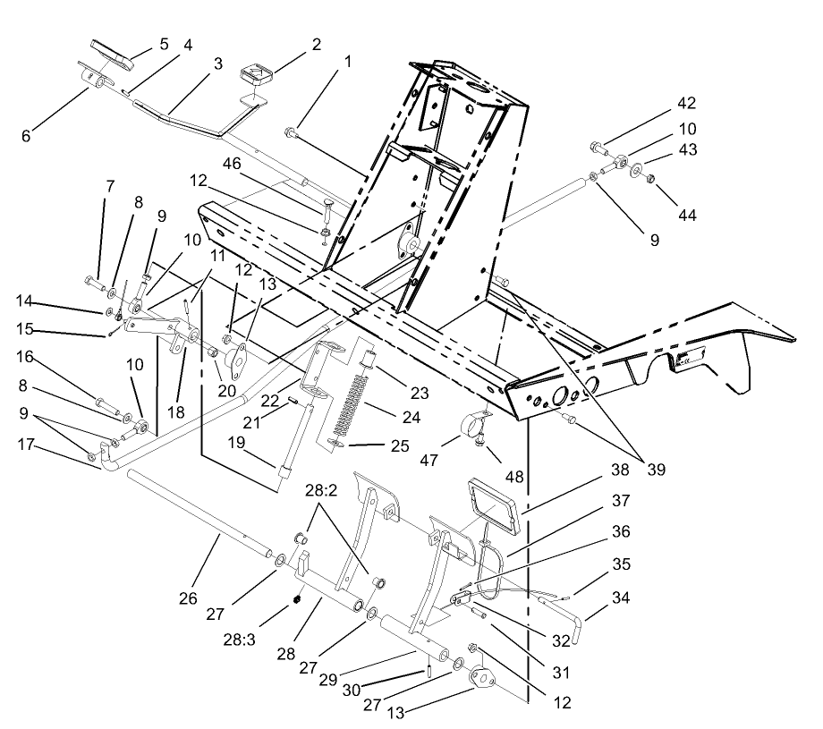
-
Parts Catalogue
-
EU Declaration of Conformity
-
Service Bulletin
High Height of Cut Blade (Part number 105-4089)
Seat Suspension (standard), Groundsmaster 3000 (Part number 30395)
Standard Seat Kit, Groundsmaster 300 (Part number 30398)
Arm Rest Kit (Part number 30707)
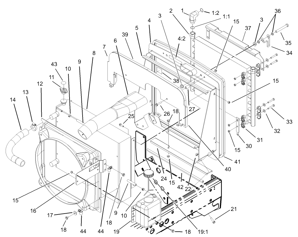
27in Rotary Cutting Unit, Groundsmaster 3500-D/4500-D/4700-D (Part number 30827)
Mulching Kit, 27" Rotary Cutting Unit for Groundsmaster 3500-D/4000-D (Part number 30828)
-
Model number
30856 -
Serial number
230000001 - 230000300 -
Product Name
Groundsmaster 4500-D -
Product Brand
Toro -
Product Type
Riding Products -
Product Series
GM 400 Series
































































































