Groundsmaster 3500-G Rotary Mower
Product Information
- Model number: 30809
- Serial number: 402700001 - 405099999
- Product Type: Riding Products
Loading...
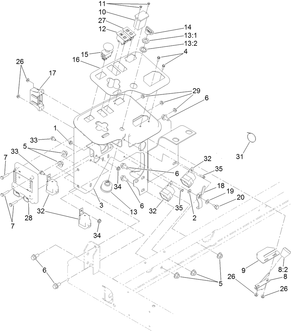
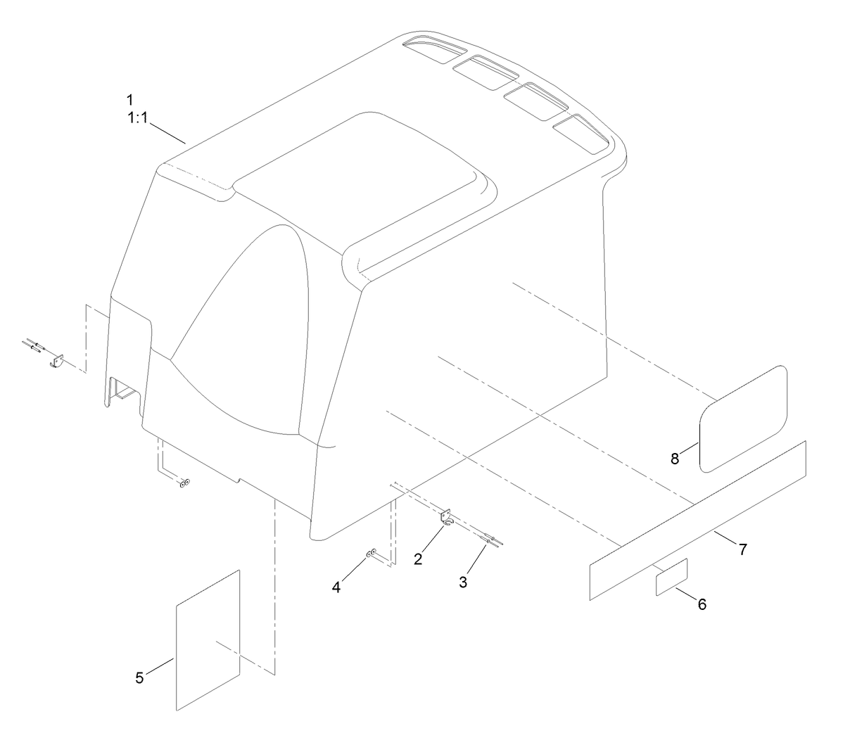
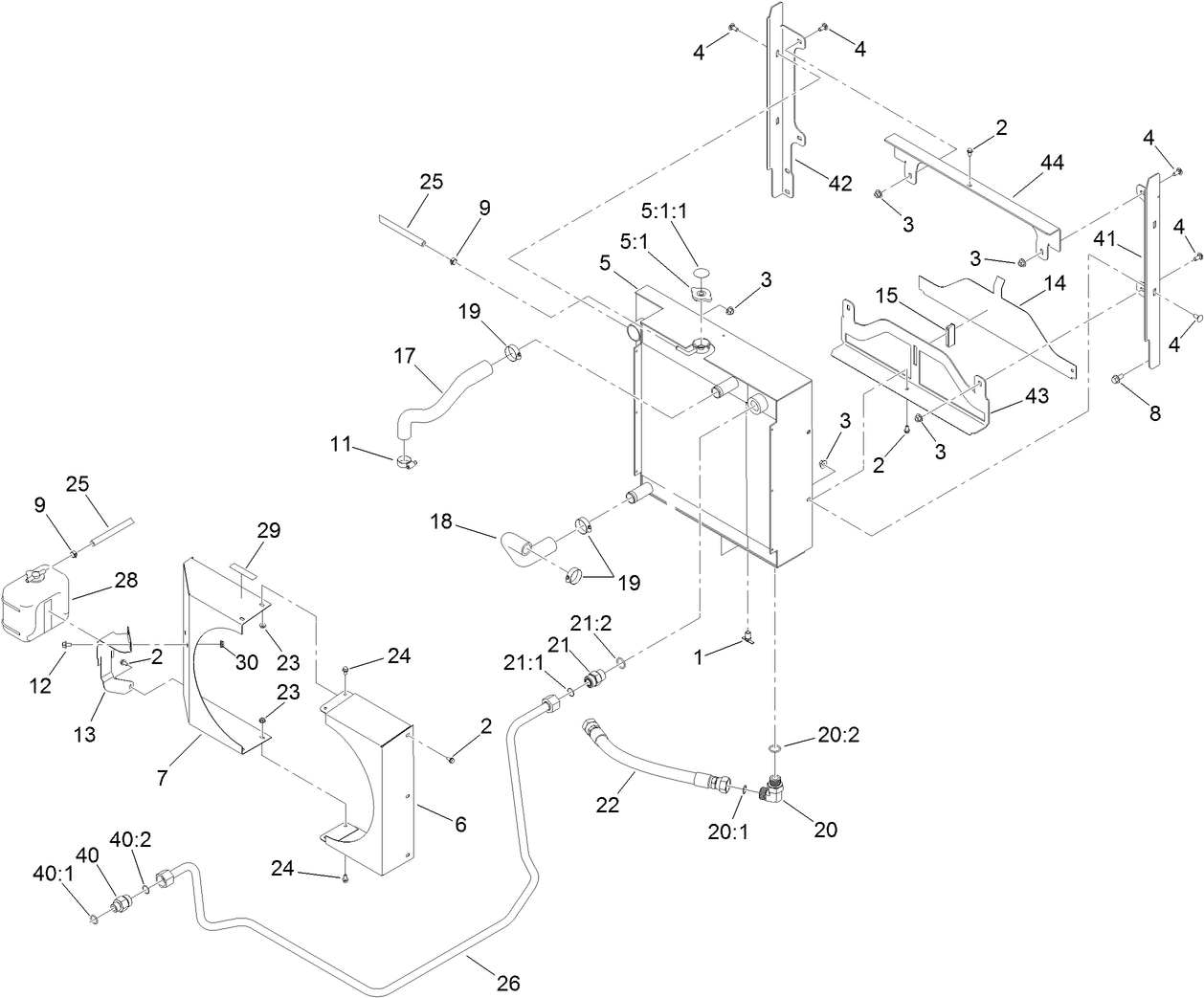
Assembly Drawings
Search for a part within assembly drawings:
-
Service Manual
-
Operator's Manual
-
Parts Catalogue
-
Schematic Drawing - Electrical
-
Schematic Drawing - Hydraulic
ROLLER SCRAPER KIT (Part number 104-5168)
BLADE-HIGH LIFT (Part number 104-5183)
BLADE-ANGLE SAIL (Part number 105-9810-03)
BLADE-ATOMIC, 27 IN (Part number 107-0235-03)
BLADE SERVICE PACK, 27 IN (Part number 108-1462)
BLADE-COMBO (Part number 108-9026-03)
LH SHORT LIFTARM ASM (Part number 115-3465)
RH SHORT LIFTARM ASM (Part number 115-3466)
Hourmeter, Wireless Hourmeter System (Part number 115-4754)
External Antenna Kit, Wireless Hourmeter System (Part number 115-9524)
Base Station Kit, Wireless Hourmeter System (Part number 115-9542)
Repeater Kit, Wireless Hourmeter System (Part number 115-9543)
Sectional Roller Assembly, 27in Rotary Cutting Unit for Groundsmaster (Part number 117-5121)
Large Seat Cover (Part number 120-5179)
ROLLER ASM (UHMW) (Part number 131-7800)
PX HYD FLUID (5 GAL) (Part number 133-8086)
PX HYD FLUID (55 GAL) (Part number 133-8087)
KIT-BALLAST (27in. C/U) (Part number 136-2881)
Bimini Sunshade for 2-Post Roll-Over Protection System (Part number 30358)
Premium Seat Kit, Groundsmaster 3500-D/3505-D and Reelmaster 3100-D (Part number 30629)
27in Rotary Cutting Unit, Groundsmaster 3500-D/4500-D/4700-D (Part number 30834)
Leaf Mulching Kit (Part number 30836)
Work Light Kit, Reelmaster 3100-D and Groundsmaster 3500-D/3505-D Trac (Part number 30841)
MVP Filter Kit (Part number 44965)
-
Model number
30809 -
Serial number
402700001 - 405099999 -
Product Name
Groundsmaster 3500-G Rotary Mower -
Product Brand
Toro -
Product Type
Riding Products










































































