48cm Super Recycler Lawn Mower
Product Information
- Model number: 20836
- Serial number: 310000001 - 310999999
- Product Type: Walk Behind Mowers
Loading...
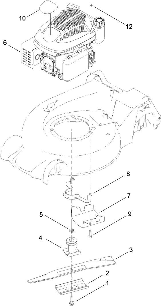
Assembly Drawings
Search for a part within assembly drawings:
-
Service Manual
-
Operator's Manual
-
Parts Catalogue
-
EU Declaration of Conformity
Toro Walk Mower Cover (Part number 490-7462)
Plain Walk Mower Cover (Part number 490-7463)
-
Model number
20836 -
Serial number
310000001 - 310999999 -
Product Name
48cm Super Recycler Lawn Mower -
Product Brand
Toro -
Product Type
Walk Behind Mowers -
Product Series
48cm Rear Bagger/Recycler -
Chassis Type
Cast Deck WPM -
Swath
48cm -
Discharge
Recycler & Side Discharge with Rear Bag -
Engine/Motor Manufacturer
Toro -
Engine/Motor Size
159cc -
Engine/Motor Type
4 Cycle EPA3 -
Engine Starter
Recoil -
Transmission Type
Gear -
Traction Type
Rear WD
-
Engine: Ignition Coil Air Gap
.010" / .25mm -
Engine: Spark Plug Gap
.030"/ .76mm -
Engine: Engine Speed
2800±100 RPM -
Engine: Spark Plug
Champion RN9YC / NGK BPR6ES / NHPS F7RTC (OEM China) -
Engine: Engine Oil Type
20 oz. (.59 L) SAE 30 or 10W-30 / API SF, SG, SH, SJ, SL, or higher






