622R Power Throw Snowthrower
Product Information
- Model number: 38606
- Serial number: 280000001 - 280999999
- Product Type: Snowthrowers
Loading...
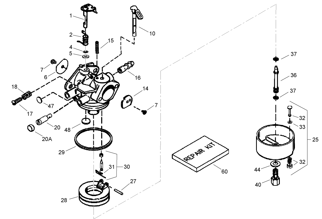
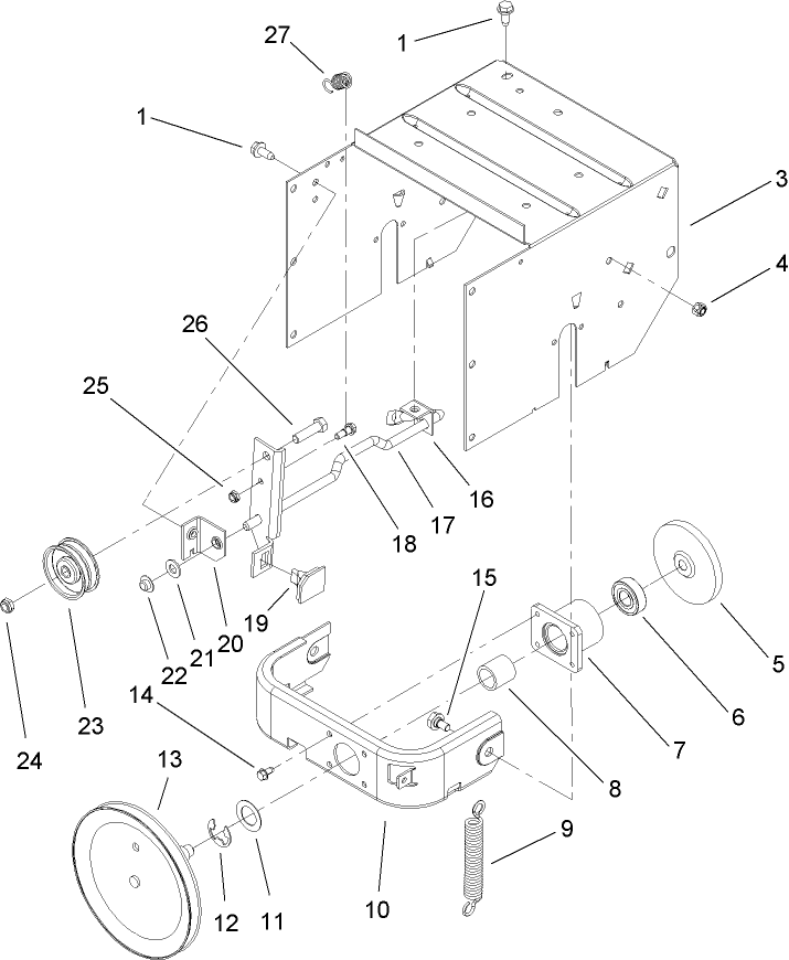
Assembly Drawings
Search for a part within assembly drawings:
-
Service Manual
-
Operator's Manual
-
Parts Catalogue
-
EU Declaration of Conformity
Drift Breaker 22" (Part number 37-7022)
Toro 2-Stage Cover (Part number 490-7466)
Plain 2-Stage Cover (Part number 490-7467)
Tire Chain Kit (Part number 56-2700)
Snow Cab (Part number 88-0600)
-
Model number
38606 -
Serial number
280000001 - 280999999 -
Product Name
622R Power Throw Snowthrower -
Product Brand
Toro -
Product Type
Snowthrowers -
Product Series
Snowthrower, Two Stage Small Frame -
Chassis Type
Two Stage -
Swath
22 inch -
Discharge
Two Stage -
Engine/Motor Manufacturer
Tecumseh -
Engine/Motor Size
195cc -
Engine/Motor Type
4 Cycle CARB3, EPA2 -
Engine Starter
Recoil -
Transmission Type
Friction Disc
-
Drive System: Ground Speed
Fwd. .9 / 1.3 / 1.9 Rev. 1.3 mph -
Engine: Engine Oil Type
21 oz. (.62l) 5w-30 or 10w / API SH or higher -
Engine: Ignition Coil Air Gap
.012" / .3mm -
Engine: Spark Plug
Champion RN4C -
Engine: Spark Plug Gap
.030"/ .76mm -
Engine: Engine Speed
3300±150 RPM -
Chassis: Tire Pressure
12-15 PSI (82-102 kPa) -
Drive System: Gearbox Lubricant
Auger 5 oz. Lubriplate Mag 1 grease











