TimeMaster® TM76K 76 cm Lawn Mower 21816
Product Information
- Model number: 21816
- Serial number: 400000000 - 419999999
- Product Type: Walk Behind Mowers
Loading...
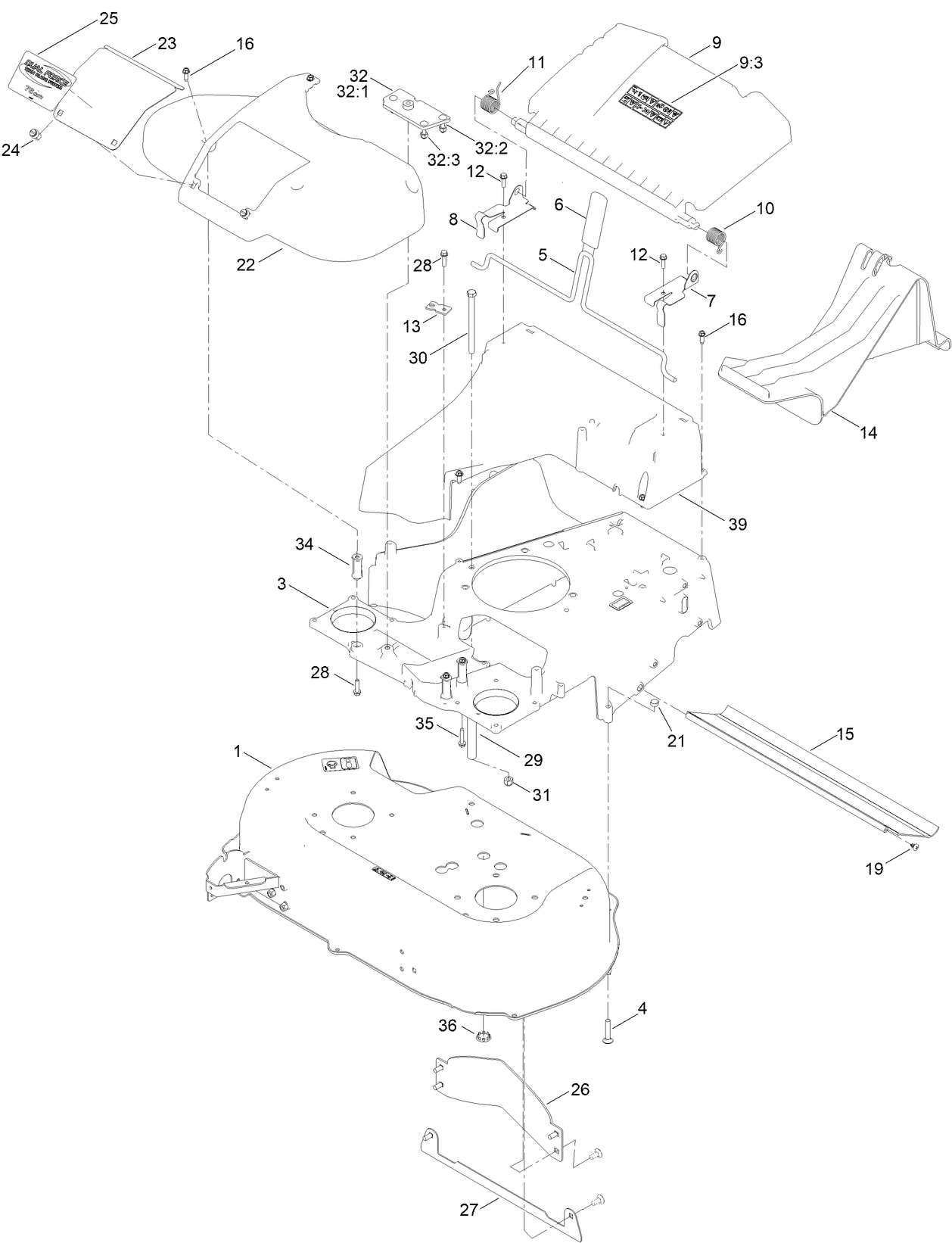
Assembly Drawings
Search for a part within assembly drawings:
-
Operator's Manual
-
Parts Catalogue
-
Product Warranty
-
EU/UK Declaration of Conformity
Fuel Stabilizer .05 oz (Part number 130-2393)
4-CYCLE FUEL, SNOW AND LAWN, 32OZ CAN (Part number 131-3823)
Toro Premium Fuel Treatment (Part number 131-6572)
OIL-30/10W-30 SYNTHETIC (Part number 138-6053)
TRACTION ASSIST HANDLE KIT (Part number 144-6377)
HI-LIFT REPL BLADE KIT TIMEMASTER (Part number 20122P)
Lawn Striping Kit with 30in Roller, Walk-Behind Lawn Mowers (Part number 20602)
TORO 4-CYCLE SAE 30 OIL (32OZ BOTTLE) (Part number 38903)
Summer Oil, Case of 24 20-Ounce Bottles (Part number 38916)
TORO SMALL WALK BEHIND BAG (Part number 490-7318)
30 INCH WPM COVER (Part number 490-7461)
-
Model number
21816 -
Serial number
400000000 - 419999999 -
Product Name
TimeMaster® TM76K 76 cm Lawn Mower 21816 -
Product Brand
Toro -
Product Type
Walk Behind Mowers







