Electric Bed Lift Kit, 2011 to 2013 Workman MDE Utility Vehicle
Product Information
- Model number: 07382
- Serial number: 311000001 - 311999999
- Product Type: Attachments
Loading...
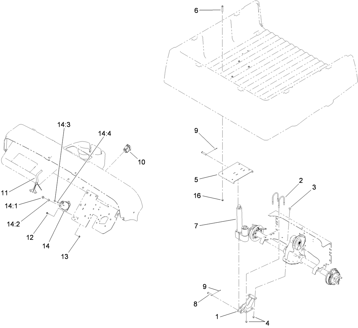
Assembly Drawings
Search for a part within assembly drawings:
-
Parts Catalogue
-
Installation Instructions
-
Addendum
-
Service Bulletin
-
Model number
07382 -
Serial number
311000001 - 311999999 -
Product Name
Electric Bed Lift Kit, 2011 to 2013 Workman MDE Utility Vehicle -
Product Brand
Toro -
Product Type
Attachments -
Product Series
Workman Series Accessories
