Workman 4300-D 4 Wheel Drive Liquid Cooled
Product Information
- Model number: 07215
- Serial number: 60001 - 60227
- Product Type: Vehicles
Loading...
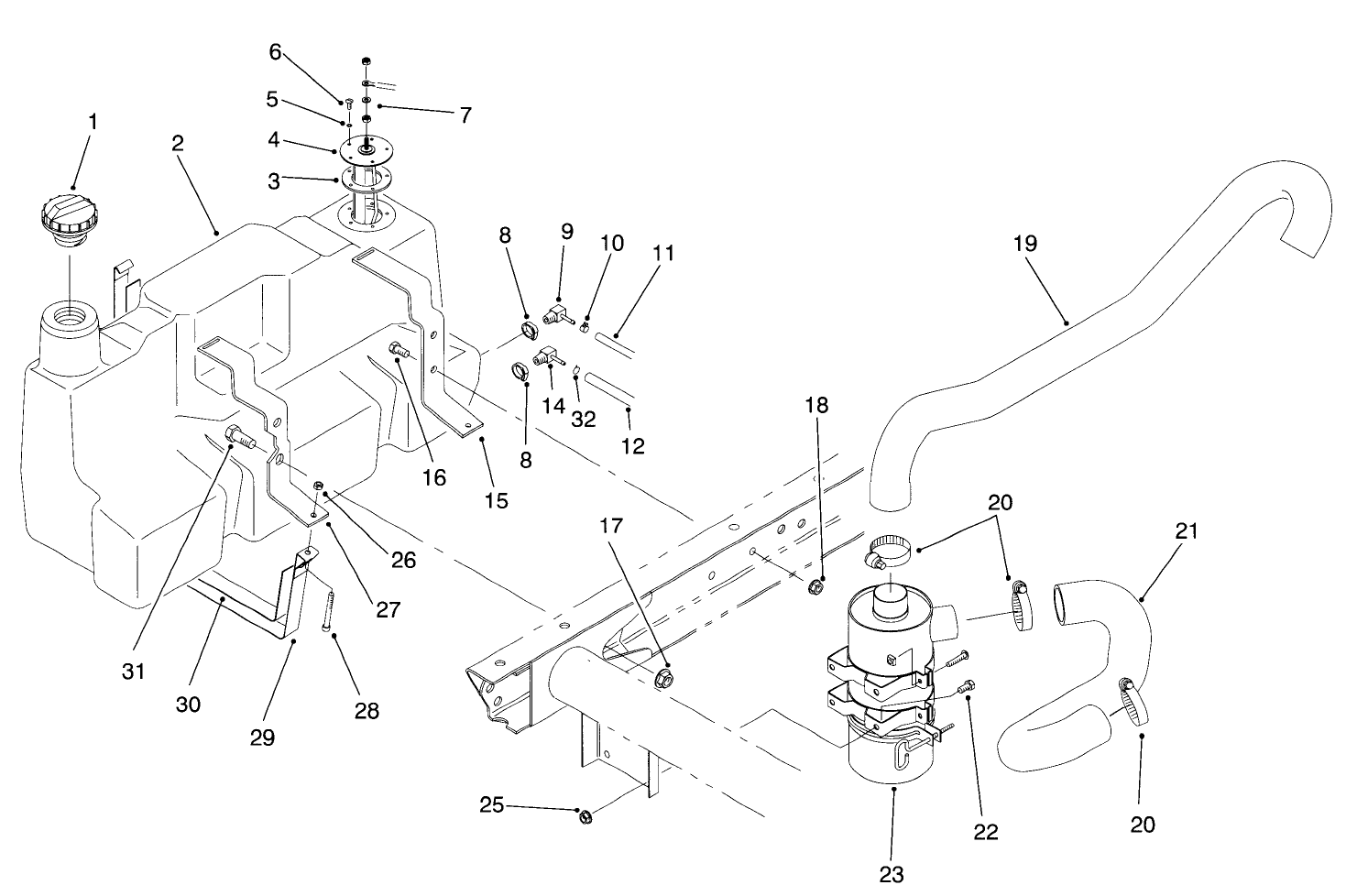
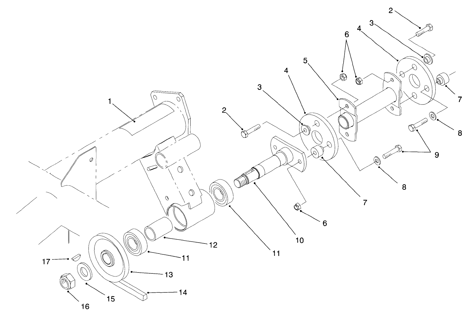
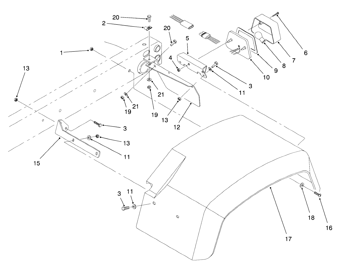
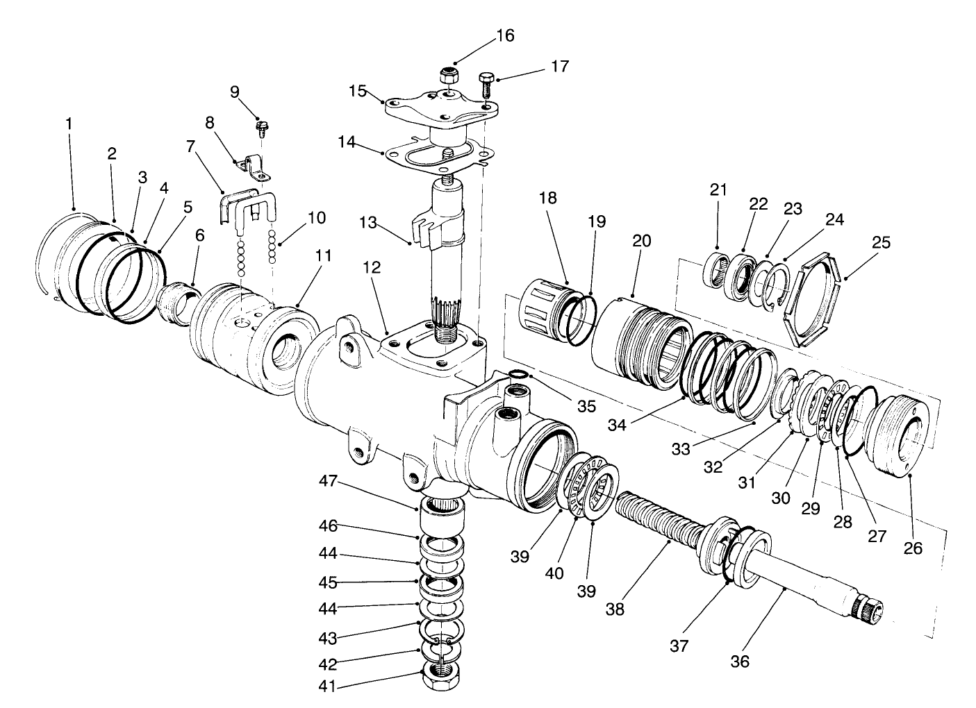
Assembly Drawings
Search for a part within assembly drawings:
-
Service Manual
-
Operator's Manual
-
Parts Catalogue
-
Service Bulletin
-
Model number
07215 -
Serial number
60001 - 60227 -
Product Name
Workman 4300-D 4 Wheel Drive Liquid Cooled -
Product Brand
Toro -
Product Type
Vehicles -
Product Series
Workman Series






















































