Image Not Found

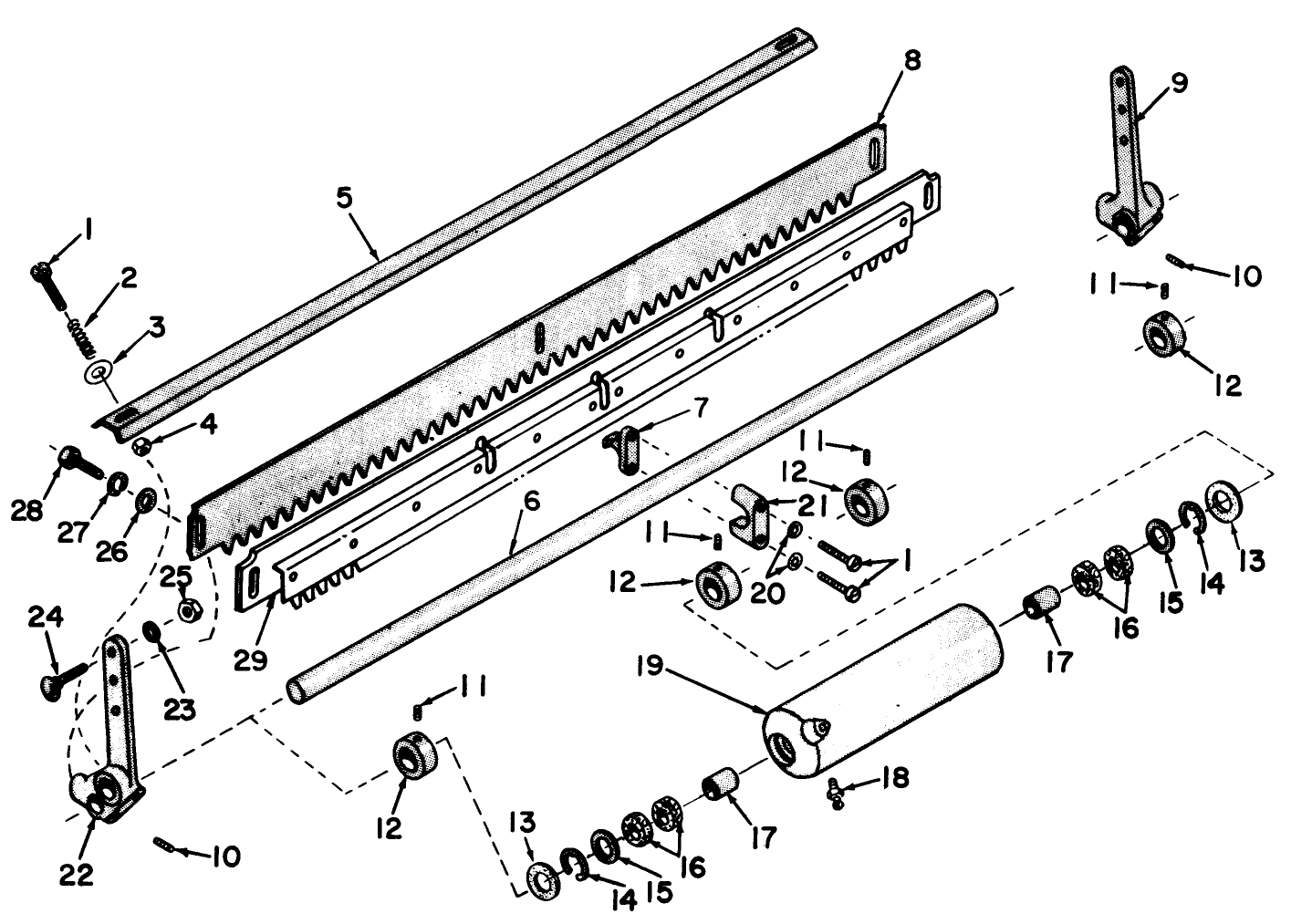
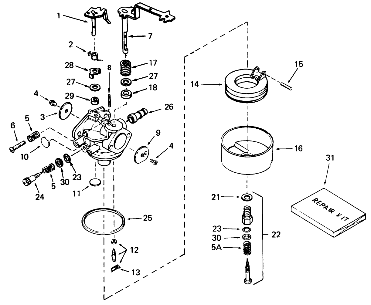
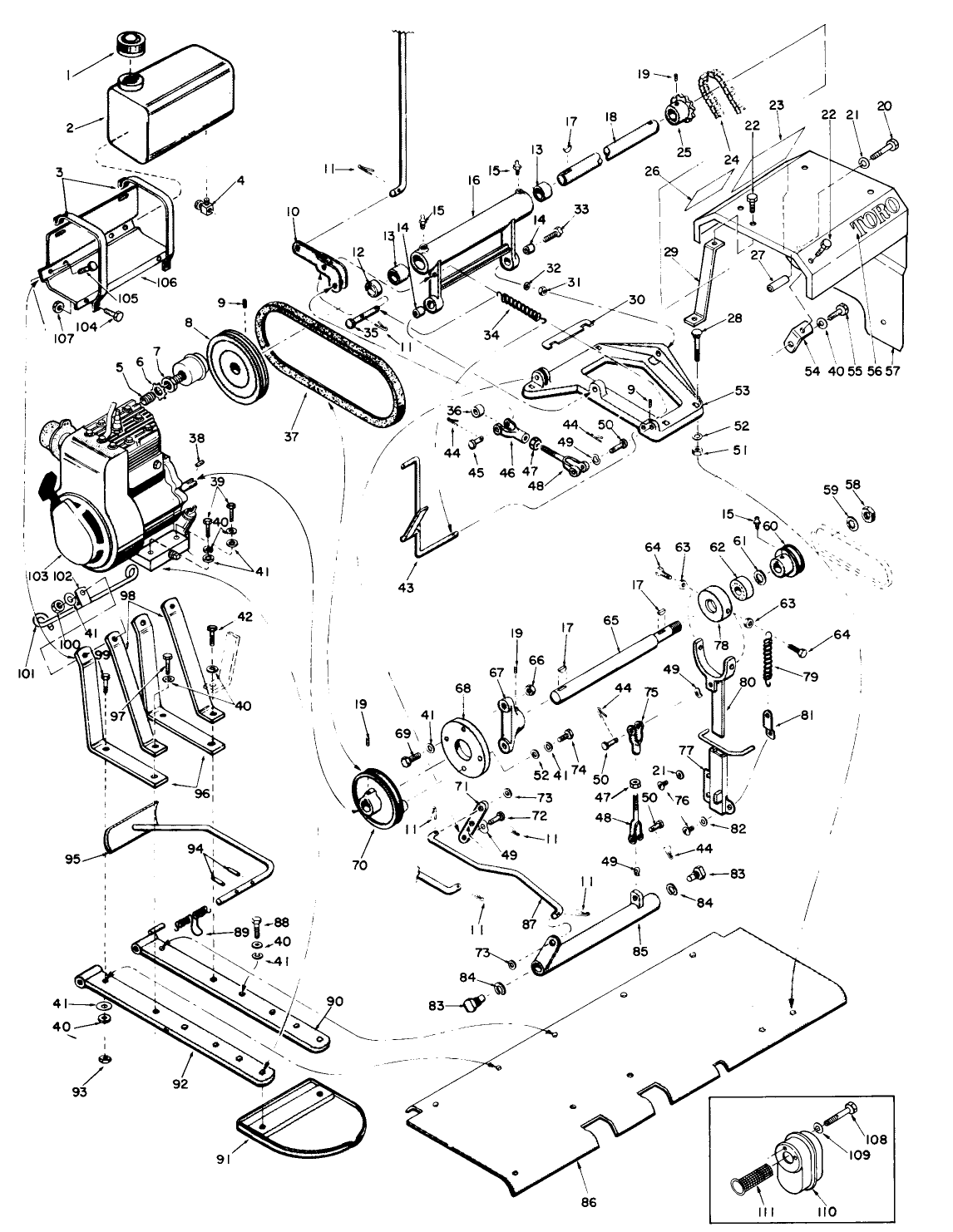
Product Information

  • Model #: 04023
  • Serial #: 30001 - 39999
  • Product Type: Walk Behind Mowers
  • Model #
    04023
  • Serial #
    30001 - 39999
  • Product Name
    21" Series 4 Greensmaster
  • Product Brand
    Toro
  • Product Type
    Walk Behind Mowers
  • Product Series
    Greensmower - Series 4

Register your product

Registering your product will ensure notification of important updates and expedite warranty service should it be necessary.

Register Now