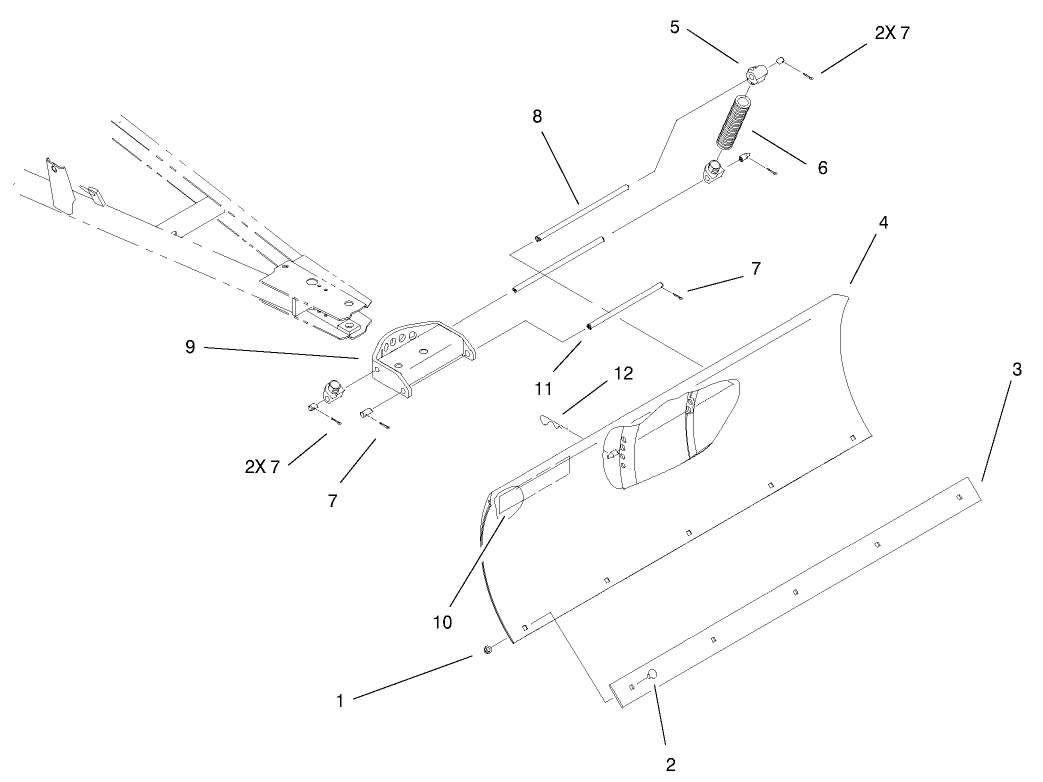
48" Snow/Dozer Blade, 300 Series Garden Tractors
Product Information
- Model #: 79350
- Serial #: 210000001 - 210999999
- Product Type: Attachments
Loading...
Assembly Drawings
Search for a part within assembly drawings:
-
Operator's Manual
-
Parts Catalog
-
Model #
79350 -
Serial #
210000001 - 210999999 -
Product Name
48" Snow/Dozer Blade, 300 Series Garden Tractors -
Product Brand
Toro -
Product Type
Attachments -
Product Series
Attachments & Kits, Consumer Riding -
Swath
48 inch

