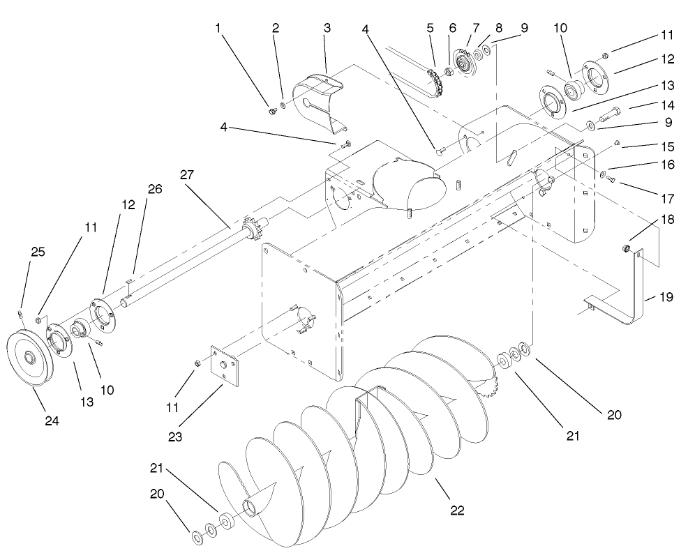
42" Snowthrower, 260 Series Lawn and Garden Tractors
Product Information
- Model #: 79263
- Serial #: 230000001 - 230999999
- Product Type: Attachments
Loading...
Assembly Drawings
Search for a part within assembly drawings:
-
Operator's Manual
-
Parts Catalog
-
EU Declaration of Conformity
-
Model #
79263 -
Serial #
230000001 - 230999999 -
Product Name
42" Snowthrower, 260 Series Lawn and Garden Tractors -
Product Brand
Toro -
Product Type
Attachments -
Product Series
Attachments & Kits, Consumer Riding -
Swath
42 inch



