Whirlwind Lawnmower
Product Information
- Model #: 18215
- Serial #: 0000001 - 0999999
- Product Type: Walk Behind Mowers
Loading...
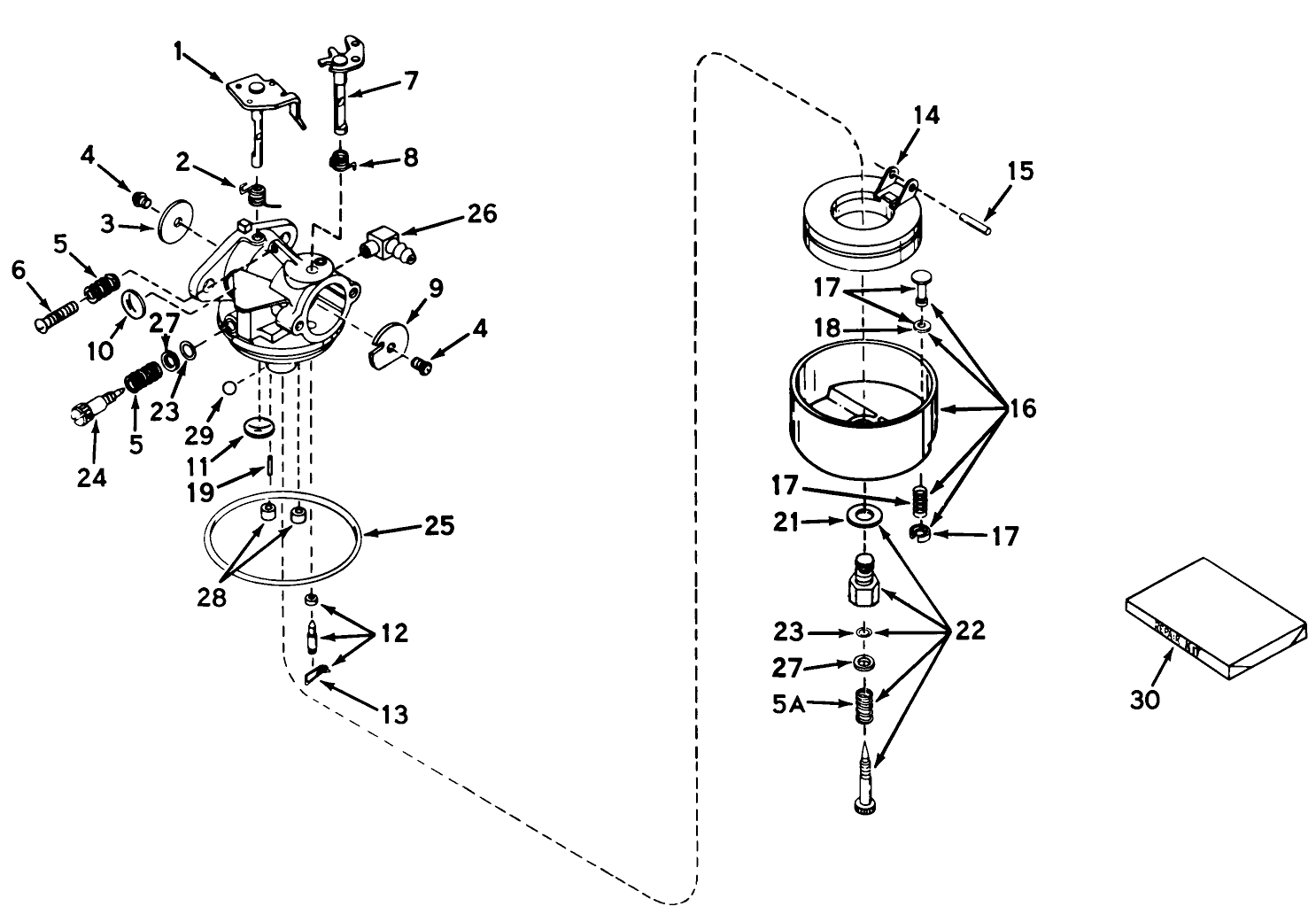
Assembly Drawings
Search for a part within assembly drawings:
Bag assembly (Part # 3-6279)
-
Model #
18215 -
Serial #
0000001 - 0999999 -
Product Name
Whirlwind Lawnmower -
Product Brand
Toro -
Product Type
Walk Behind Mowers -
Product Series
19" Side Discharge -
Chassis Type
Cast Deck WPM -
Swath
19 inch -
Discharge
Side -
Engine/Motor Manufacturer
Tecumseh -
Engine/Motor Type
4 Cycle -
Engine Starter
Recoil -
Transmission Type
Hand Push






