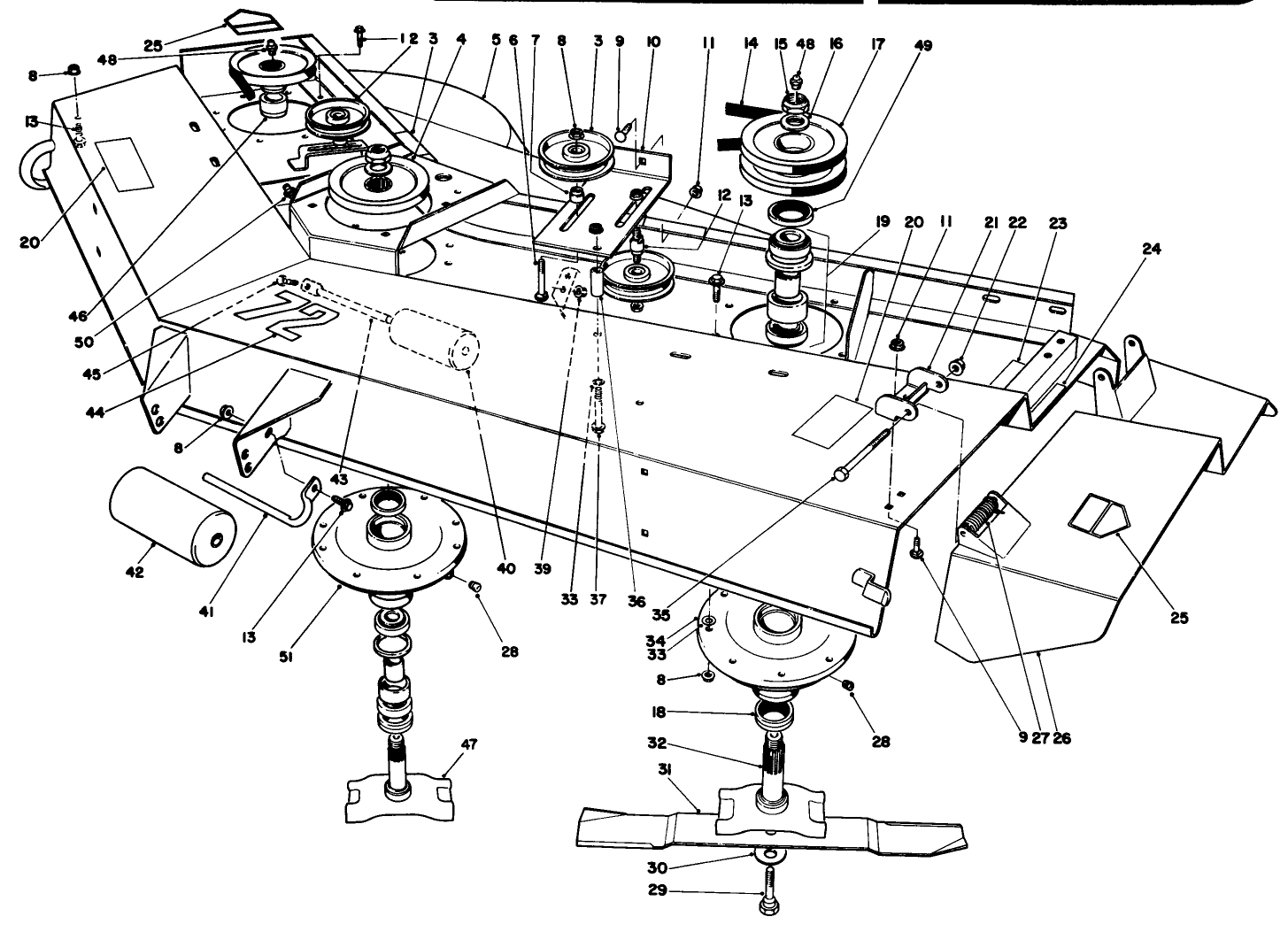
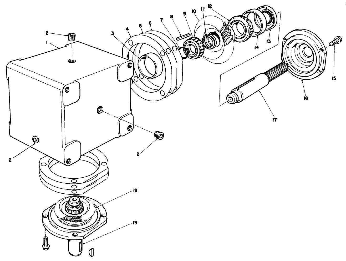
72" Side Discharge Mower, Groundsmaster 300 Series
Product Information
- Model #: 30722
- Serial #: 20611 - 29999
- Product Type: Attachments
Loading...
Assembly Drawings
Search for a part within assembly drawings:
-
Operator's Manual
-
Parts Catalog
-
EU Declaration of Conformity
-
Service Bulletin
-
Model #
30722 -
Serial #
20611 - 29999 -
Product Name
72" Side Discharge Mower, Groundsmaster 300 Series -
Product Brand
Toro -
Product Type
Attachments -
Product Series
Attachments & Kits, Groundsmaster -
Swath
72 inch -
Discharge
Side


