Gas Blower Vacuum
Product Information
- Model #: 62901
- Serial #: 890000001 - 899999999
- Product Type: Blowers/Vacuums
Loading...
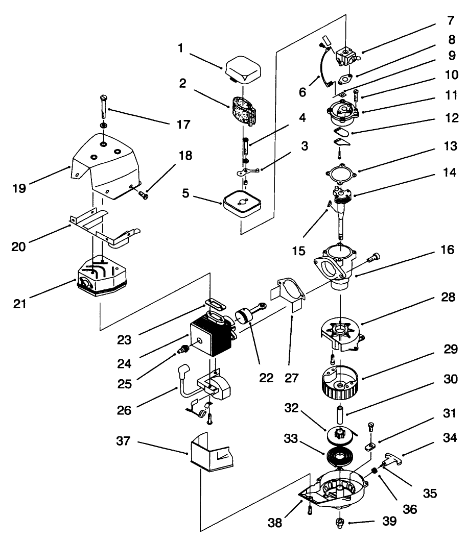
Assembly Drawings
Search for a part within assembly drawings:
-
Service Manual
-
Operator's Manual
-
Parts Catalog
-
Model #
62901 -
Serial #
890000001 - 899999999 -
Product Name
Gas Blower Vacuum -
Product Brand
Toro -
Product Type
Blowers/Vacuums -
Product Series
Lawn Vacuum / Sweeper / Blower, Gas Powered -
Chassis Type
Gas Debris Equipment -
Discharge
130 mph/300 cfm -
Engine/Motor Manufacturer
Ryobi -
Engine/Motor Size
31cc -
Engine/Motor Type
2 Cycle CARB1, EPA1 -
Engine Starter
Recoil


