8-Blade 4-Bolt Reel Mower, Greensmaster 3250-D
Product Information
- Model #: 04470
- Serial #: 220000001 - 220999999
- Product Type: Attachments
Loading...
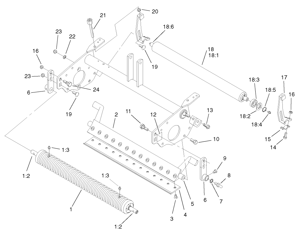
Assembly Drawings
Search for a part within assembly drawings:
-
Operator's Manual
-
Parts Catalog
-
EU Declaration of Conformity
-
Service Bulletin
-
Model #
04470 -
Serial #
220000001 - 220999999 -
Product Name
8-Blade 4-Bolt Reel Mower, Greensmaster 3250-D -
Product Brand
Toro -
Product Type
Attachments -
Product Series
GR 3000 Series Accessories

