Super Recycler Lawn Mower
Product Information
- Model #: 20053
- Serial #: 270000001 - 270999999
- Product Type: Walk Behind Mowers
Loading...
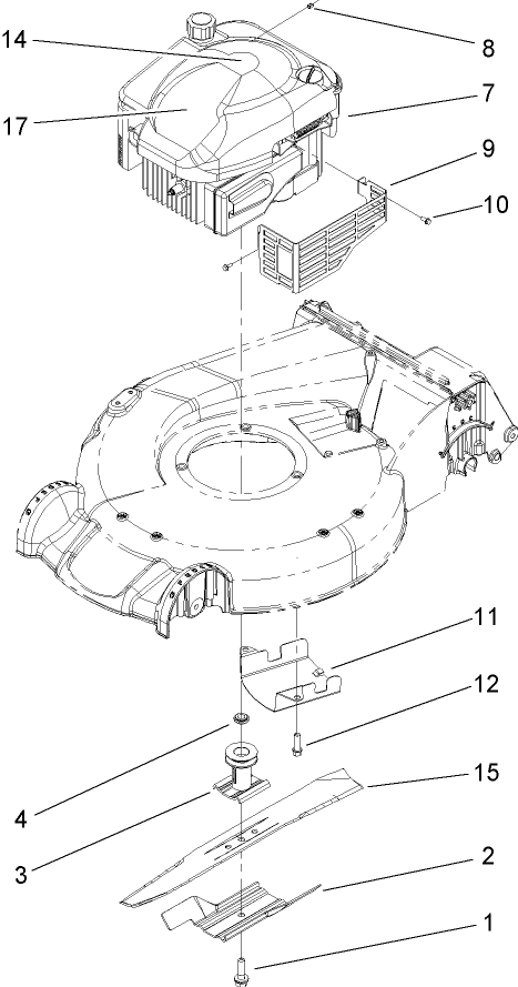
Assembly Drawings
Search for a part within assembly drawings:
-
Service Manual
-
Operator's Manual
-
Parts Catalog
21 Inch Standard Bagging Blade (Part # 108-3759-03)
Toro standard blade. Toro standard lawn blades have a straight and more aerodynamic body that cuts grass which then allow for either discharge or bagging of the clippings. This Toro blade has multiple applications. Be sure to verify model and serial number to ensure the correct part.
-
Model #
20053 -
Serial #
270000001 - 270999999 -
Product Name
Super Recycler Lawn Mower -
Product Brand
Toro -
Product Type
Walk Behind Mowers -
Product Series
21" (53cm) 3 in 1 / Recycler -
Chassis Type
Cast Deck WPM -
Swath
21 inch -
Discharge
Side & Mulcher -
Engine/Motor Manufacturer
Briggs & Stratton -
Engine/Motor Size
6.5 hp -
Engine/Motor Type
4 Cycle CARB2, EPA2 -
Engine Starter
Recoil -
Transmission Type
Hand Push
-
Engine: Engine Oil Type
20 oz. (.6l) 30w or 10w-30 / API SH or higher -
Engine: Engine Speed
3000±150 RPM -
Engine: Ignition Coil Air Gap
.006-.010" / .15-.25mm -
Engine: Spark Plug
Champion RJ19LM -
Engine: Spark Plug Gap
.030"/ .76mm -
Chassis: Height of Cut Range
1.25-4.25", 1/2" increments
















