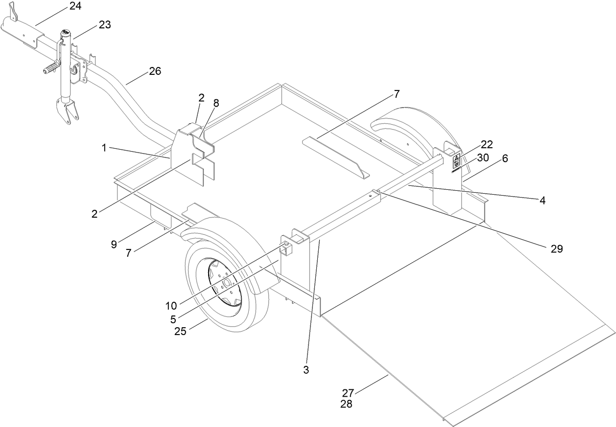
Trailer for the TRX Trencher and STX Stump Grinder
Product Information
- Model #: 22979
- Serial #: None - None
- Product Type: Compact Utility Loaders, Attachments
Loading...
Assembly Drawings
Search for a part within assembly drawings:
-
Parts Catalog
-
Setup Instructions
-
Model #
22979 -
Serial #
None - None -
Product Name
Trailer for the TRX Trencher and STX Stump Grinder -
Product Brand
Toro -
Product Type
Compact Utility Loaders, Attachments -
Product Series
Attachments & Kits, SWS & CUE
