Groundsmaster 4000-D Traction Unit
Product Information
- Model #: 30412
- Serial #: 290000301 - 290000600
- Product Type: Riding Products
Loading...
Assembly Drawings
Search for a part within assembly drawings:
-
Service Manual
-
Operator's Manual
-
Parts Catalog
-
EU Declaration of Conformity
-
Service Bulletin
TEST BOX - SWITCH (Part # 105-2811)
FRONT PLATE SERVICE KIT (Part # 107-4328)
7 Blade Service Pack- 21.75 Inch Atomic® Mulching Blade (Part # 108-1450)
Toro 21.75 Inch OEM Atomic® mulching 7-blade service pack (Part number 107-0214-03). The Toro Atomic® mulching blade is commonly referenced as a "Gator Style" or Gator Blade". The Atomic® Mulching Blade Provides the best quality of cut while mulching. This Toro blade has multiple applications. Be sure to verify model and serial number to ensure correct part.
7 Blade Service Pack- 21.75 Inch Flat Blade (Part # 110-6130)
Toro 21.75 Inch OEM Flat 7-blade service pack (Part number 110-6115-03). Flat blades are designed to keep air flow to a minimum. The lack of suction allows cut grass to exit the mower while keeping dust and debris levels down. Toro flat mower blades cause less engine strain than high lift blades. This Toro blade has multiple applications. Be sure to verify model and serial number to ensure the correct part.
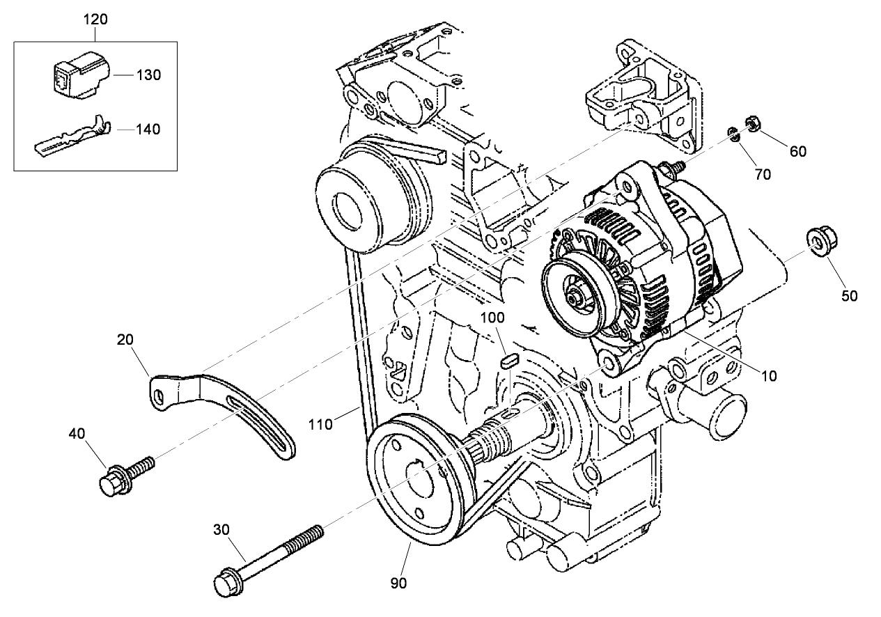
90 AMP ALTERNATOR KIT (Part # 115-8473)
Accessory Wiring Kit, Groundsmaster 4000/4100 Series Traction Unit (Part # 115-8492)
7 Blade Service Pack- 21.75 Inch Standard Blade (Part # 117-2722)
Contains 92-5608-03 @ 7
Hardtop Sunshade, Groundsmaster and Reelmaster Traction Units (Part # 30359)
Deluxe Seat Suspension, Groundsmaster 3000/4000 (Part # 30396)
Standard Seat Kit, Groundsmaster 300 (Part # 30398)
Right-Hand Replacement Mower, Groundsmaster 4000-D (Part # 30415)
Left-Hand Replacement Mower, Groundsmaster 4000-D (Part # 30416)
Front Replacement Mower, Groundsmaster 4000-D (Part # 30417)
Recycler Conversion Kit (Part # 30420)
Speed Control Kit, Groundsmaster 4000-D and 4100-D (Part # 30421)
Leaf Mulching Kit (Part # 30422)
Debris Blower, Groundsmaster 4000-D (Part # 30425)
Rotary Broom, Groundsmaster 4000-D and 4100-D (Part # 30426)
Flow Divider Kit, Groundsmaster 4000-D and 4100-D (Part # 30429)
Road Light Kit, Groundsmaster 4000-D and 4100-D (Part # 30442)
GM4000 A/C MOUNTING KIT (Part # 30444)
Air Ride Seat Suspension Kit, Groundsmaster 4000-D and 4100-D (Part # 30621)
Premium Seat Kit, Groundsmaster 4000-D and 4100-D (Part # 30622)
Arm Rest Kit (Part # 30707)
Built for comfort.
-
Model #
30412 -
Serial #
290000301 - 290000600 -
Product Name
Groundsmaster 4000-D Traction Unit -
Product Brand
Toro -
Product Type
Riding Products -
Product Series
GM 400 Series





































































































