22in Recycler Lawn Mower
Product Information
- Model #: 20333C
- Serial #: 310000001 - 310999999
- Product Type: Walk Behind Mowers
Loading...
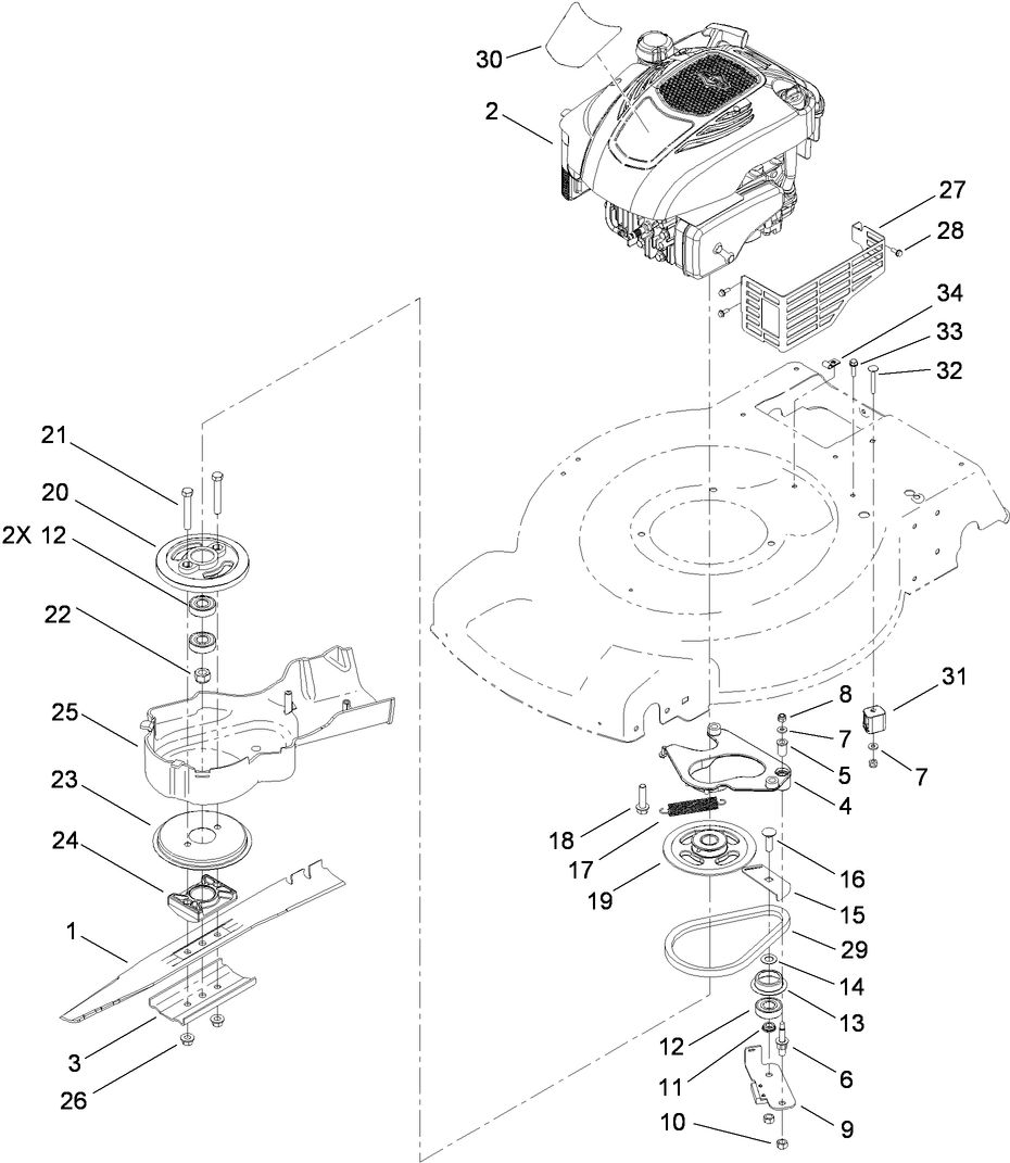
Assembly Drawings
Search for a part within assembly drawings:
-
Service Manual
-
Operator's Manual
-
Parts Catalog
-
Model #
20333C -
Serial #
310000001 - 310999999 -
Product Name
22in Recycler Lawn Mower -
Product Brand
Toro -
Product Type
Walk Behind Mowers -
Product Series
22" Steel Deck -
Chassis Type
Steel Deck WPM -
Swath
22 inch -
Discharge
Recycler & Side Discharge with Rear Bag -
Engine/Motor Manufacturer
Briggs & Stratton -
Engine/Motor Size
GrossTorque 7.00f/lb -
Engine/Motor Type
4 Cycle -
Engine Starter
Recoil -
Transmission Type
Gear -
Traction Type
Rear WD
-
Engine: Engine Speed
2900±100 RPM -
Engine: Ignition Coil Air Gap
.010" / .25mm -
Engine: Spark Plug
Champion RJ19LM -
Engine: Spark Plug Gap
.030"/ .76mm -
Engine: Engine Oil Type
20 oz. (.6l) 30w / API SH or higher -
Chassis: Height of Cut Range
1" - 4" (2.5-10 cm) -
Drive System: Ground Speed
0-4.4 mph







