Image Not Found

Product Information

  • Model #: 68050
  • Serial #: 313000001 - 313999999
  • Product Type: Concrete Equipment
  • Model #
    68050
  • Serial #
    313000001 - 313999999
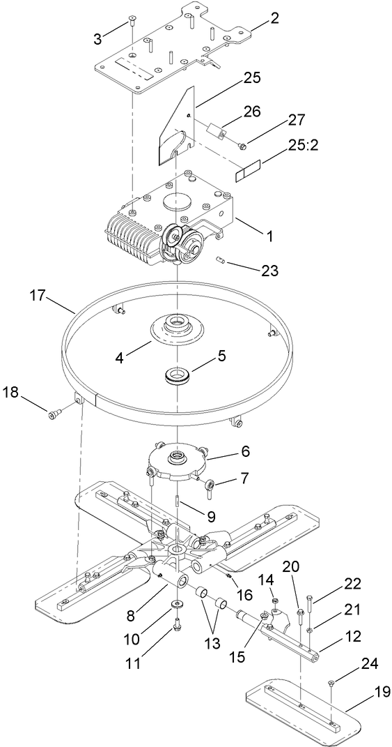
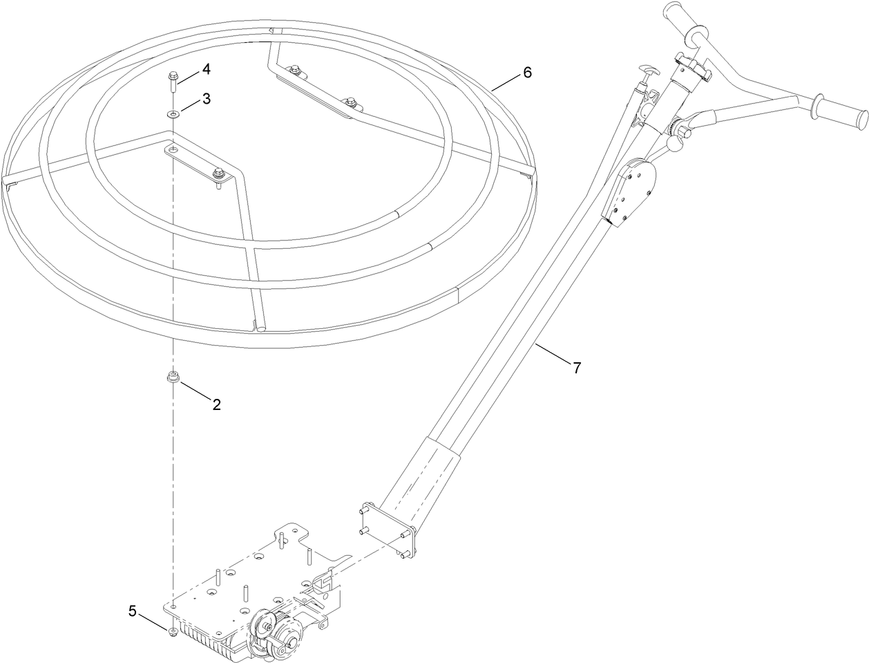
  • Product Name
    PT-46 Power Trowel
  • Product Brand
    Toro
  • Product Type
    Concrete Equipment
  • Engine/Motor Manufacturer
    HONDA

Register your product

Registering your product will ensure notification of important updates and expedite warranty service should it be necessary.

Register Now