TimeMaster 30in Lawn Mower
Product Information
- Model #: 20200
- Serial #: 312008662 - 312999999
- Product Type: Walk Behind Mowers
Loading...
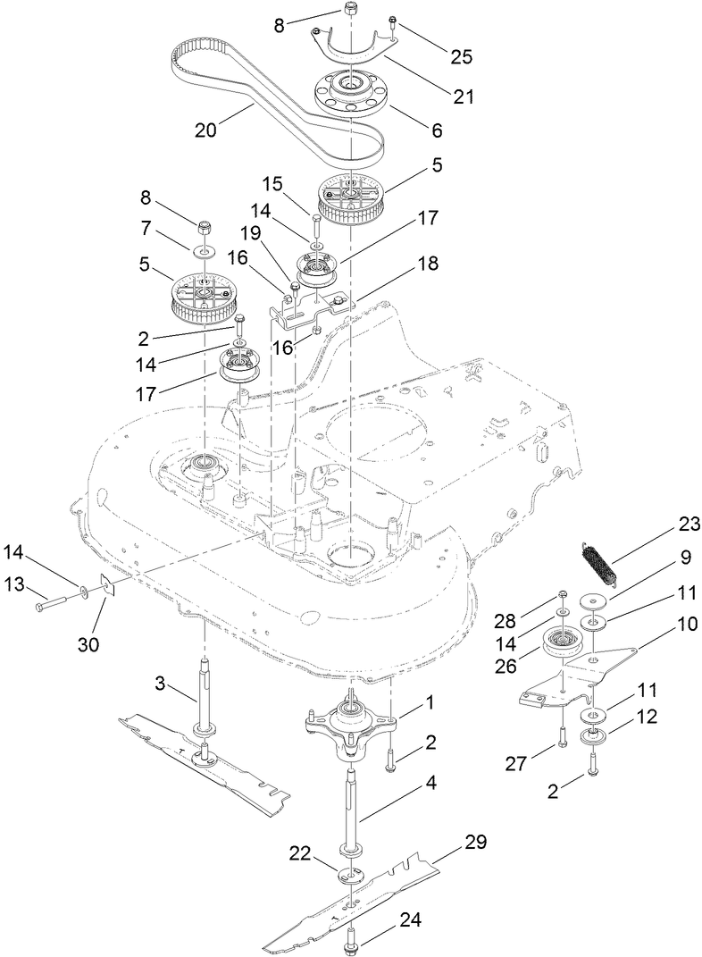
Assembly Drawings
Search for a part within assembly drawings:
-
Service Manual
-
Operator's Manual
-
Parts Catalog
-
Addendum
High-Lift Blade Conversion Kit for TimeMaster 2012 (Part # 127-6879)
Genuine OEM Part
Blade Padk - TimeMaster (Part # 20120)
Genuine OEM Part
-
Model #
20200 -
Serial #
312008662 - 312999999 -
Product Name
TimeMaster 30in Lawn Mower -
Product Brand
Toro -
Product Type
Walk Behind Mowers -
Product Series
30" Steel Deck -
Chassis Type
Steel Deck WPM -
Swath
30 inch -
Discharge
Recycler & Side Discharge with Rear Bag -
Engine/Motor Manufacturer
Briggs & Stratton -
Engine/Motor Type
4 Cycle -
Engine Starter
Electric/Recoil
-
Engine: Ignition Coil Air Gap
.010" / .25mm -
Engine: Spark Plug
Champion RC12YC -
Engine: Spark Plug Gap
.020"/ .5mm -
Engine: Engine Oil Type
20 oz. (.6l) 30w / API SH or higher -
Chassis: Height of Cut Range
1" - 4" (2.5-10 cm) -
Engine: Battery
12V -
Engine: Engine Speed
3400±100 RPM








