Power Max Heavy Duty 1028 OXE Snowthrower
Product Information
- Model #: 38674
- Serial #: 314000001 - 314999999
- Product Type: Snowthrowers
Loading...
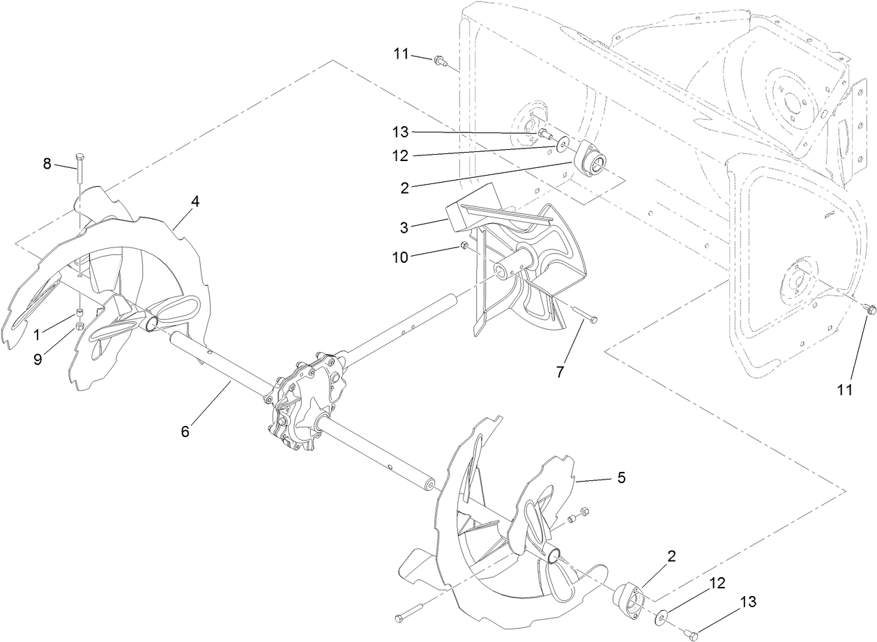
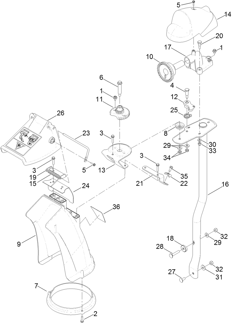
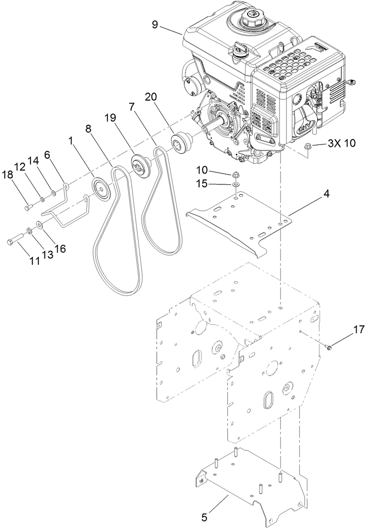
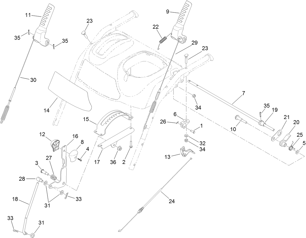
Assembly Drawings
Search for a part within assembly drawings:
-
Service Manual
-
Operator's Manual
-
Parts Catalog
-
Addendum
Snow Blower Weight Kit (Part # 107-3815)
Toro genuine snow blower front weight kit equalizes weight distribution and holds the scraper blade closer to the ground. This kit is designed to enhance operator comfort, and adds extra weight to your snow blower allowing for a better balanced machine. recommended when used with Toro Snow Cab to keep machine balanced.
Snow Blower Drift Breaker Kit (Part # 107-3817)
This drift breaker kit is for use with 26 inch Power Max Snowblowers. It will help to break down drifts in front of the auger housing and minimize snow accumulation across the top of the housing. This drift breaker will help optimize the performance of your Toro Snowblower.
Snow Blower Engine Maintenance Kit (Part # 138-0704)
Keep your Toro snow blower running smoothly season after season with this maintenance kit for snow blowers 2019 or newer. This kit contains oil, a spark plug, and fuel treatment. You can count on these essentials for routine maintenance of your Toro Snow blower.
Snow Blower Non-Marking Skid Replacement Kit for PowerMax Models (Part # 38211)
Replace your worn PowerMax Skid Shoes with this replacement non-marking skid kit. The kit contains 2 skid and the needed hardware. Worn skid shoes can cause damage to your pavement so check them annually for needed replacement. The Toro skid shoe for the SnowMaster is a 2 piece design with a metal bracket that attaches to the unit and a polyethylene shoe that protects the pavement.
Please contact your local dealer
16 inch Snow Blower Tire Chains (Part # 38215)
Toro tire chains give you an advantage over the elements. They supply the extra traction needed for ice, packed snow, deep snow and uneven surfaces. Toro's 2-link spacing design provides substantially more surface contact, providing the best possible traction in tough conditions. Toro's easy-to-install chains are a must-have for any two stage Power Max HD snowblower and specifically designed to ensure you get the best performance from your Toro.
Winter 0W-30 Synthetic Winter Engine Oil (Part # 38913)
Toro 0W-30 Synthetic Winter Engine Oil is engineered to provide superior performance and easy
starting in extreme cold temperatures. The easiest starting winter oil in extreme cold.
Two Stage Snow Blower Cover (Part # 490-7466)
Toro genuine snow blower cover. Specifically designed for Toro 2-Stage Power Max and Power Max HD models
Water resistant backing for extra weather protection
Heavy-duty abrasion resistant 600 Denier polyester fabric
Maintains flexibility, even on the coldest days
-
Model #
38674 -
Serial #
314000001 - 314999999 -
Product Name
Power Max Heavy Duty 1028 OXE Snowthrower -
Product Brand
Toro -
Product Type
Snowthrowers -
Product Series
Snowthrower, PowerMax HD -
Chassis Type
Two Stage -
Swath
28 inch -
Discharge
Two Stage -
Engine/Motor Manufacturer
Toro -
Engine/Motor Size
302cc -
Engine/Motor Type
4 Cycle -
Engine Starter
Electric/Recoil -
Transmission Type
Friction Disc -
Traction Type
2wd
-
Drive System: Gearbox Lubricant
4.5 oz. (133ml) SAE 90 GL5 or higher -
Engine: Spark Plug Gap
.030"/ .76mm -
Chassis: Tire Pressure
17-20 PSI / 116-137 kPa -
Engine: Engine Speed
3300±100 RPM -
Engine: Spark Plug
Champion RN9YC / NGK BPR6ES / NHPS F7RTC (OEM China) -
Engine: Engine Oil Type
30-32 oz. 5w-30 synthetic or 5w-30 below 40F (4c) or 10w-30 above 0F (-20c)

















