22in Recycler Lawn Mower
Product Information
- Model #: 20333
- Serial #: 315000001 - 315999999
- Product Type: Walk Behind Mowers
Loading...
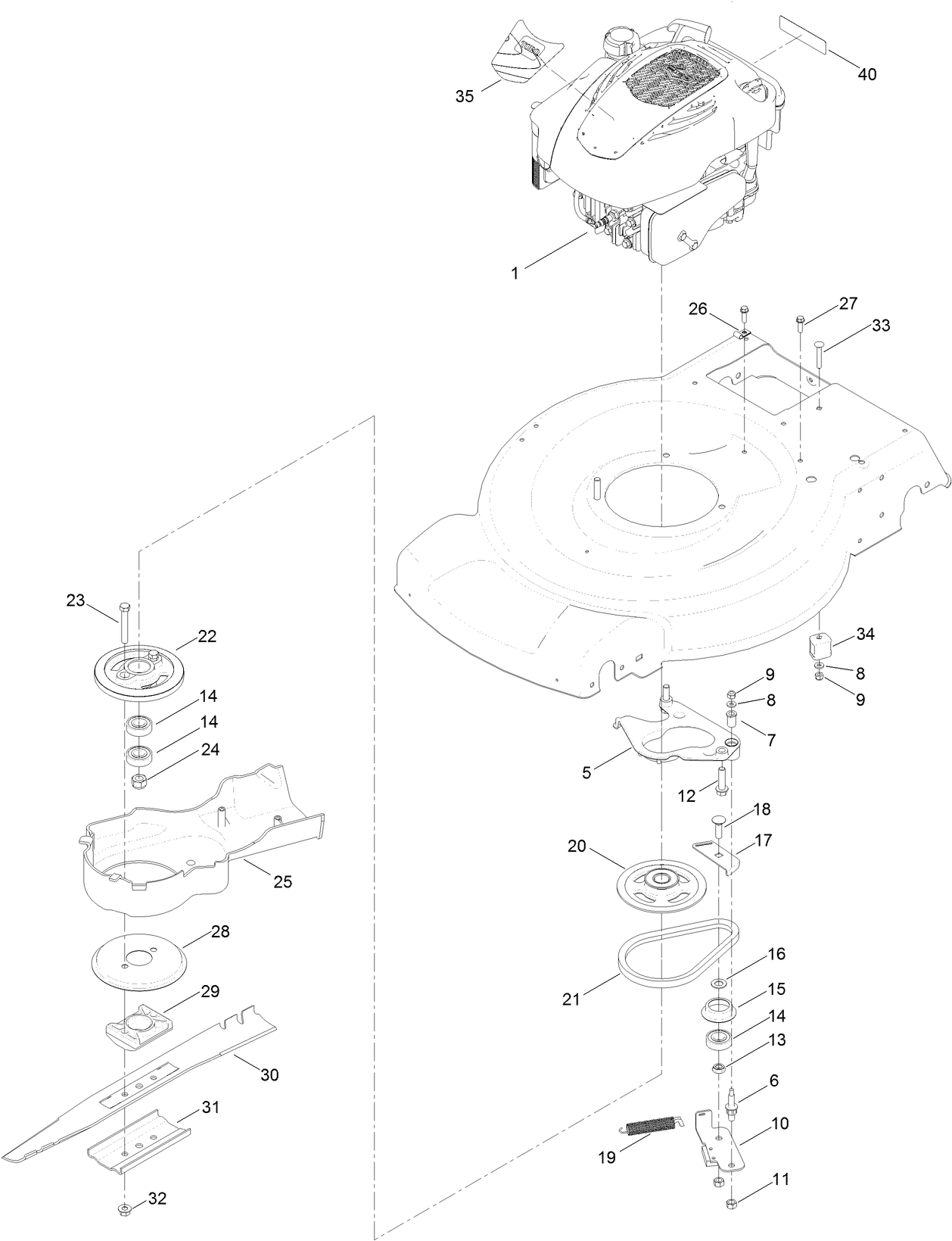
Assembly Drawings
Search for a part within assembly drawings:
-
Service Manual
-
Operator's Manual
-
Parts Catalog
Premium Fuel Treatment (0.5 oz.) (Part # 130-2393)
Toro Premium Fuel Treatment helps ensure clean, reliable engine performance and protection. Good for your lawnmowers, snow blowers, weed wickers, leaf blowers and other small engine power equipment. Using Toro Fuel Treatment with every fill up provides protection for two and four cycle small engines.
Engine Maintenance Kit for Briggs & Stratton Engine (Part # 20234)
Keep your mower running smoothly, season after season. This kit is for walk-behind power mowers with Briggs & Stratton engines. The kit contains 20 oz. SAE 30 engine oil (#120-3306), a spark plug (#120-3305), an air filter (#120-3303) and a 0.5 oz. packet of fuel treatment (#130-2393).
Striping Kit for Walk-Behind Mowers (Part # 20601)
The Toro Lawn Striping System provides you the ability to easily add professional-looking, ball-park quality stripes and patterns to your lawn, while you mow. Easily attaches to most walk-behind mowers and can be used with and without the bagger attached.
22 inch Drive Belt for RWD Toro WPM (Part # 38991)
All Toro belts are manufactured using the highest quality materials. Toro belts are rigorously tested to assure they perform under the toughest operating conditions. Genuine Toro parts ensure your mower performs as it's intended by providing the perfect fit and maximum performance. This Toro bolt has multiple applications. Be sure to verify model and serial number to ensure the correct part.
Cover for 20 to 22 Inch Walk-Behind Mowers (Part # 490-7462)
The Toro Walk Power Mower Cover for 20 in. to 22 in. Walk-Behind Mowers offers all-season protection. This cover is constructed from tough, waterproof, tear and abrasion resistant 600-denier polyester.
Replacement Bag (Part # 59310)
Genuine OEM Part
Replacement Front Wheel Drive Internal Gear (Part # 59502)
The assembly of this Toro replacement wheel starts with High quality components. It is made of tough, 30% glass-filled polypropylene. The 8-in. wheel assembly is extremely durable, and the integral gear design provides strong, reliable and even traction. This wheel assembly is a long-lasting and Hi-highly-functional replacement drive wheel assembly for 22 in. front wheel drive models.
8 inch Replacement Rear-Wheel-Drive Wheel for Lawn Mowers (Part # 59503)
Replace the rear-wheel-drive wheels on your Toro 22 inch Recycler Lawn Mower model years 2002 through 2008, or 2014 and newer models. This 8 inch replacement wheel assembly's metal is engineered to resist wear and keep your Toro mower operating at its optimum performance.
22 Inch Recycler Blade (Part # 59534P)
Toro 22 Inch OEM Recycler blade. Recycler straight edge, standard discharge blade. The blade is designed for a High quality cut and long-lasting durability. These blades are designed with “wings,” called “accelerators” that kind of act like a fan — forcing the tiny bits of grass back into the earth. This Toro blade has multiple applications. Be sure to verify make and serial number to ensure the correct part. When it comes to reliability, Toro delivers replacement parts designed to the exact engineering specifications of our equipment. For peace of mind, insist on Toro genuine parts.
-
Model #
20333 -
Serial #
315000001 - 315999999 -
Product Name
22in Recycler Lawn Mower -
Product Brand
Toro -
Product Type
Walk Behind Mowers -
Product Series
22" Steel Deck -
Chassis Type
Steel Deck WPM -
Swath
22 inch -
Discharge
Recycler & Side Discharge with Rear Bag -
Engine/Motor Manufacturer
Briggs & Stratton -
Engine/Motor Type
4 Cycle -
Engine Starter
Recoil -
Transmission Type
Gear -
Traction Type
Rear WD
-
Engine: Engine Speed
2900±100 RPM -
Engine: Ignition Coil Air Gap
.010" / .25mm -
Engine: Spark Plug Gap
.030"/ .76mm -
Chassis: Height of Cut Range
1" - 4" (2.5-10 cm) -
Engine: Spark Plug
Champion RJ19MC -
Engine: Engine Oil Type
20 oz. (0.59 L) SAE 30 / API SF, SG, SH, SJ, SL, or higher -
Drive System: Ground Speed
0-4.3 mph







