22" (56cm) SMARTSTOW® Personal Pace® High Wheel Mower
Product Information
- Model #: 20340
- Serial #: 316000001 - 316999999
- Product Type: Walk Behind Mowers
Loading...
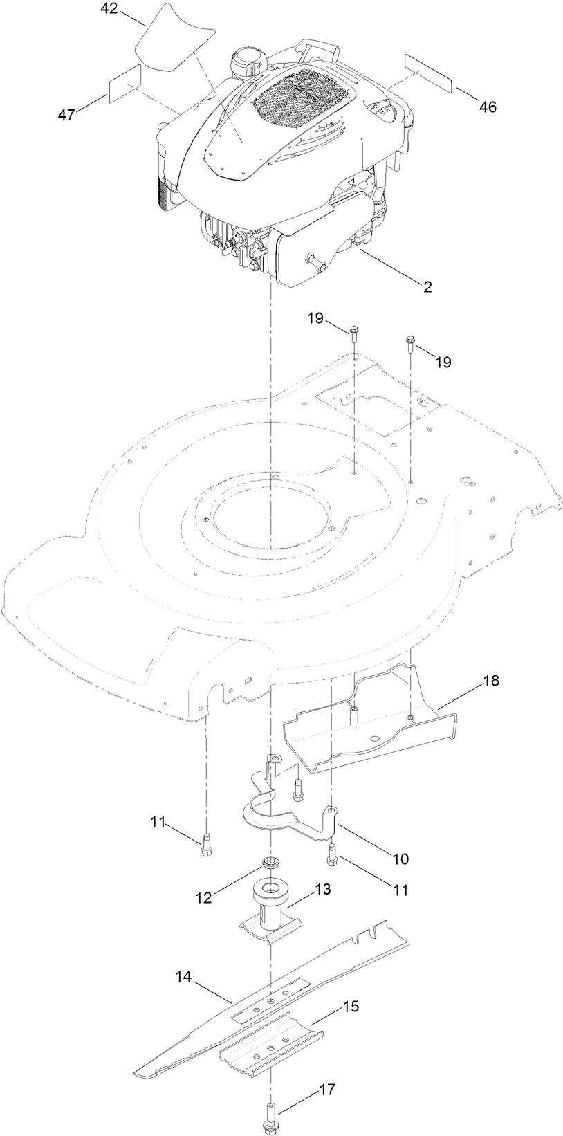
Assembly Drawings
Search for a part within assembly drawings:
-
Operator's Manual
-
Parts Catalog
-
ACMA Declaration of Conformity
Premium Fuel Treatment (0.5 oz.) (Part # 130-2393)
Toro Premium Fuel Treatment helps ensure clean, reliable engine performance and protection. Good for your lawnmowers, snow blowers, weed wickers, leaf blowers and other small engine power equipment. Using Toro Fuel Treatment with every fill up provides protection for two and four cycle small engines.
Traction Assist Handle (Part # 131-4590)
The traction assist handle allows you to use your hands to control the speed of Personal Pace mowers, instead of your walking speed. The fixed assist handle allows you to squeeze the traction bar to adjust the mower speed without changing walking speed. It is helpful in situations when turning tight corners and mowing on hills. When it comes to reliability, Toro delivers replacement parts designed to the exact engineering specifications of our equipment. For peace of mind, insist on Toro genuine parts.
Engine Maintenance Kit for Briggs & Stratton Engine (Part # 20234)
Keep your mower running smoothly, season after season. This kit is for walk-behind power mowers with Briggs & Stratton engines. The kit contains 20 oz. SAE 30 engine oil (#120-3306), a spark plug (#120-3305), an air filter (#120-3303) and a 0.5 oz. packet of fuel treatment (#130-2393).
Striping Kit for Walk-Behind Mowers (Part # 20601)
The Toro Lawn Striping System provides you the ability to easily add professional-looking, ball-park quality stripes and patterns to your lawn, while you mow. Easily attaches to most walk-behind mowers and can be used with and without the bagger attached.
Cover for 20 to 22 Inch Walk-Behind Mowers (Part # 490-7462)
The Toro Walk Power Mower Cover for 20 in. to 22 in. Walk-Behind Mowers offers all-season protection. This cover is constructed from tough, waterproof, tear and abrasion resistant 600-denier polyester.
22 Inch Recycler Blade (Part # 59534P)
Toro 22 Inch OEM Recycler blade. Recycler straight edge, standard discharge blade. The blade is designed for a High quality cut and long-lasting durability. These blades are designed with “wings,” called “accelerators” that kind of act like a fan — forcing the tiny bits of grass back into the earth. This Toro blade has multiple applications. Be sure to verify make and serial number to ensure the correct part. When it comes to reliability, Toro delivers replacement parts designed to the exact engineering specifications of our equipment. For peace of mind, insist on Toro genuine parts.
-
Model #
20340 -
Serial #
316000001 - 316999999 -
Product Name
22" (56cm) SMARTSTOW® Personal Pace® High Wheel Mower -
Product Brand
Toro -
Product Type
Walk Behind Mowers -
Product Series
22" Steel Deck -
Chassis Type
Walk Behind -
Swath
22 inch -
Discharge
Recycler & Rear Bagger -
Engine/Motor Manufacturer
Briggs & Stratton -
Engine/Motor Type
4 Cycle -
Engine Starter
Recoil -
Traction Type
Rear WD
-
Engine: Engine Speed
3000±100 RPM -
Engine: Spark Plug Gap
.030"/ .76mm -
Chassis: Height of Cut Range
1" - 4" (2.5-10 cm) -
Engine: Ignition Coil Air Gap
.010-.020" / .25-.5mm -
Engine: Spark Plug
Champion RJ19MC -
Engine: Engine Oil Type
18 oz. (.53l) 30w or 10w-30 / API SJ or higher -
Drive System: Ground Speed
0-4.3 mph





