HoverPro 550 Machine
Product Information
- Model #: 02606
- Serial #: 314000373 - 314999999
- Product Type: Walk Behind Mowers
Loading...
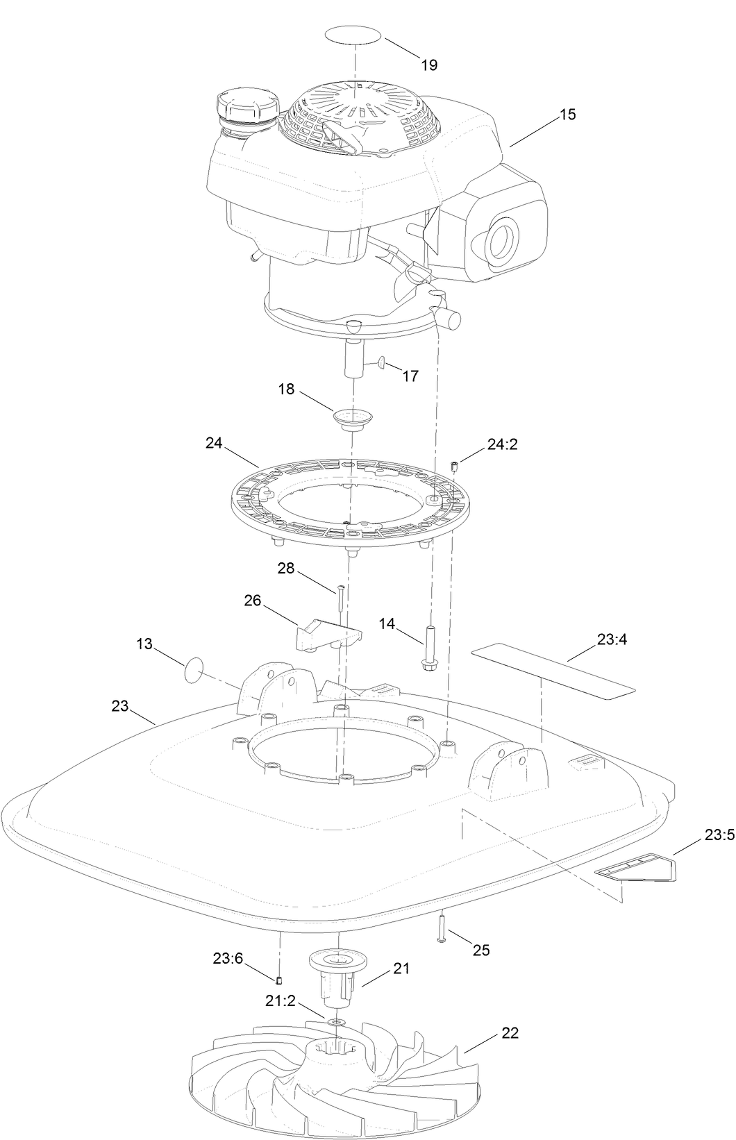
Assembly Drawings
Search for a part within assembly drawings:
-
Operator's Manual
-
Parts Catalog
-
EU Declaration of Conformity
-
Setup Instructions
-
Service Bulletin
Transport Wheel Kit, HoverPro 450/500/550 Mower (Part # 02622)
Handlebar Extension Kit, HoverPro 450/500/550 Mower (Part # 02623)
-
Model #
02606 -
Serial #
314000373 - 314999999 -
Product Name
HoverPro 550 Machine -
Product Brand
Toro -
Product Type
Walk Behind Mowers -
Product Series
HoverPro Rotary Mower -
Swath
21 inch














