Shredder
Product Information
- Model #: 62853
- Serial #: 4000001 - 4999999
- Product Type: Misc
Loading...
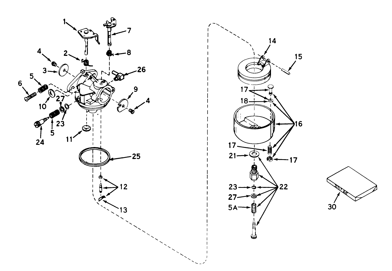
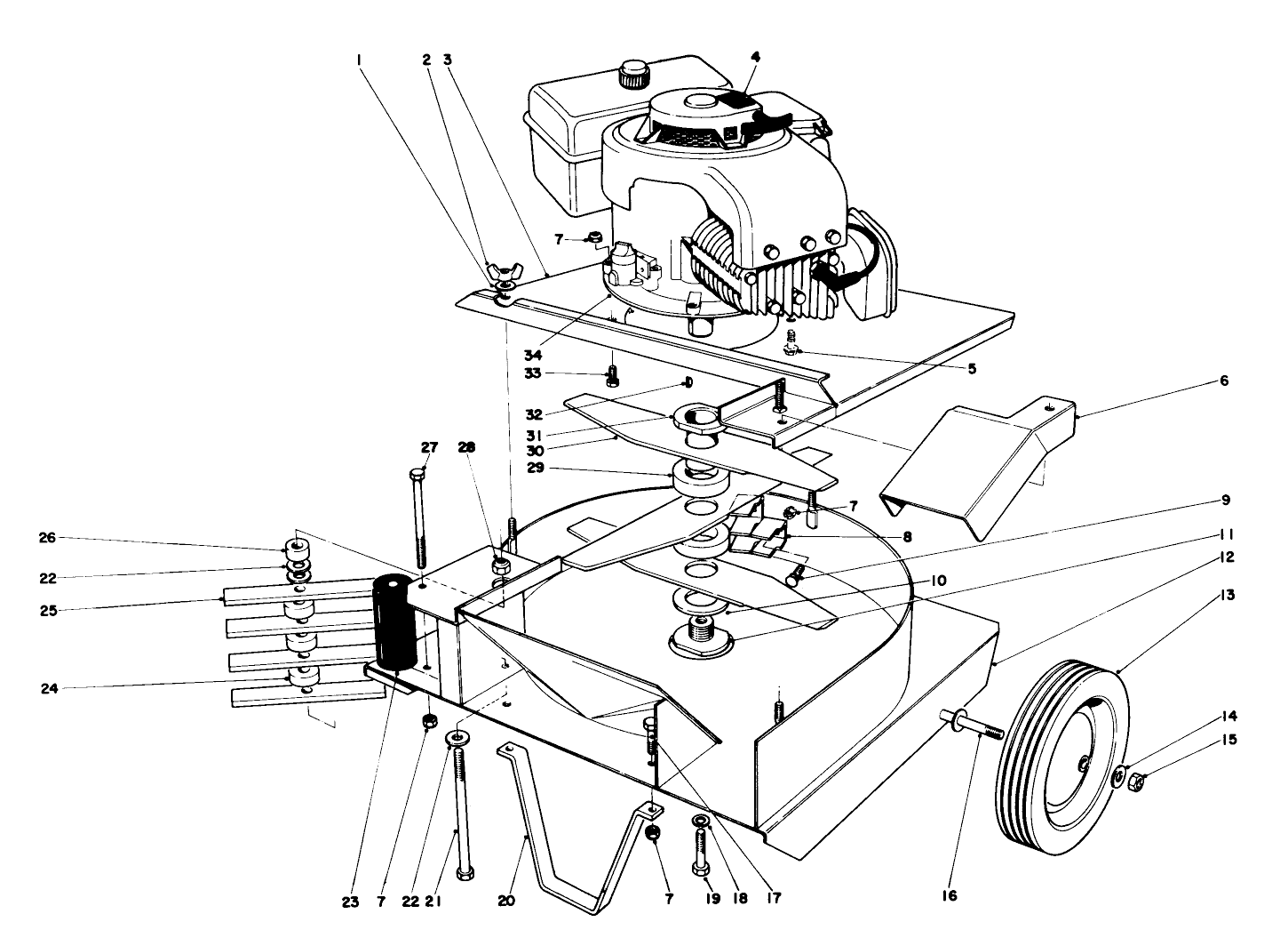
Assembly Drawings
Search for a part within assembly drawings:
-
Model #
62853 -
Serial #
4000001 - 4999999 -
Product Name
Shredder -
Product Brand
Toro -
Product Type
Misc -
Product Series
Miscellaneous -
Chassis Type
Gas Debris Equipment -
Engine/Motor Manufacturer
Tecumseh -
Engine/Motor Size
5 hp -
Engine/Motor Type
4 Cycle -
Engine Starter
Recoil -
Transmission Type
NA




