Pro Force Debris Blower
Product Information
- Model #: 44552
- Serial #: 408000000 - 408999999
- Product Type: Commercial Debris Blower
Loading...
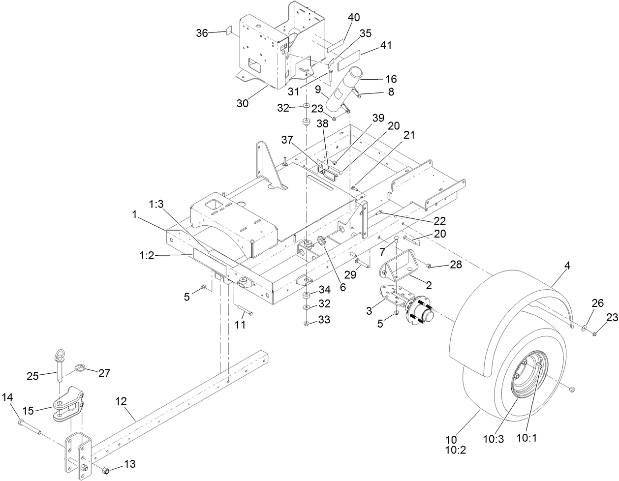
Assembly Drawings
Search for a part within assembly drawings:
-
Service Manual
-
Operator's Manual
-
Parts Catalog
-
Schematic Drawing - Electrical
-
Service Bulletin
-
EU/UK Declaration of Conformity
Tapered Nozzle Kit (Part # 119-6280)
Alternative nozzle option to best suit your needs.
Rectangular Nozzle Kit (Part # 119-6281)
Alternative nozzle option to best suit your needs.
10 Gallon Kit (Part # 130-4371)
Store 10 gallons of fuel.
Alignment Tool ASM (Part # 137-6616)
Safety Chain Kit (Part # 139-3179)
CHUTE POSITION INDICATOR KIT (Part # 140-2257)
SERVICE-TURBINE, KIT (Part # 145-7489)
KIT-SERVICE, NOZZLE ROLLER CONVERSION (Part # 145-7630)
Toro Red 12or aerosol can. (Part # 361-10)
Genuine OEM Part
Semi-Gloss Black Paint (Part # 361-9)
Genuine OEM Part
Spark Arrestor Screen (Part # 94-8157)
-
Model #
44552 -
Serial #
408000000 - 408999999 -
Product Name
Pro Force Debris Blower -
Product Brand
Toro -
Product Type
Commercial Debris Blower










