30 in. (76 cm) TimeMaster® w/Personal Pace® Gas Lawn Mower
Product Information
- Model #: 21199
- Serial #: 413000000 - 414709995
- Product Type: Walk Behind Mowers
Loading...
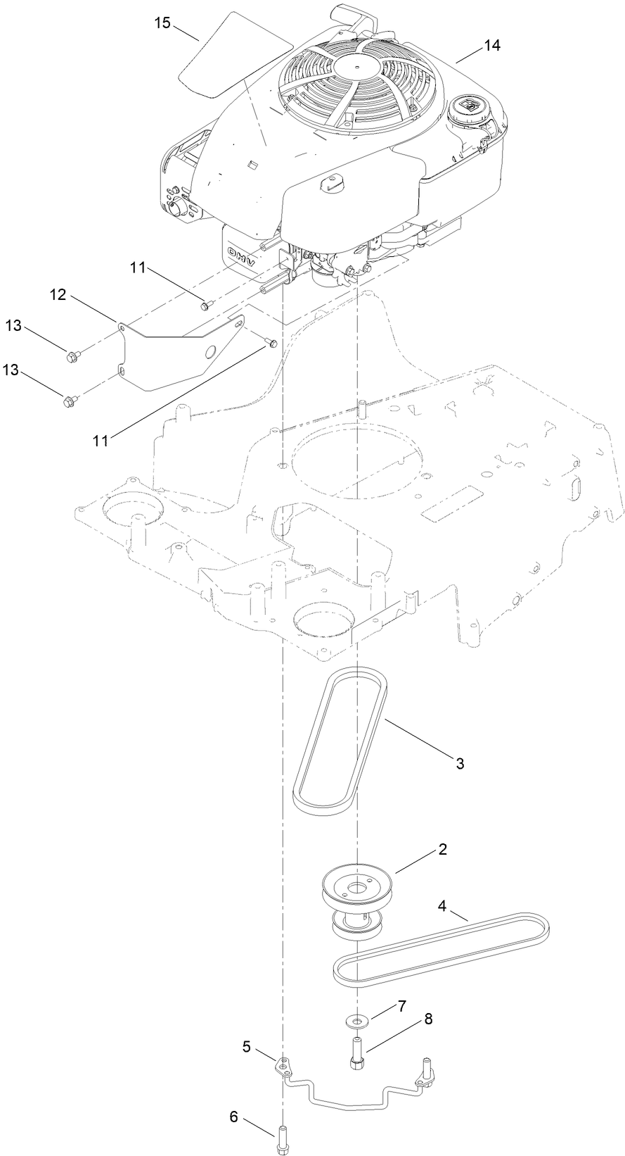
Assembly Drawings
Search for a part within assembly drawings:
-
Operator's Manual
-
Parts Catalog
-
Product Warranty
-
Quick Start Guide
-
ACMA Declaration of Conformity
-
Model #
21199 -
Serial #
413000000 - 414709995 -
Product Name
30 in. (76 cm) TimeMaster® w/Personal Pace® Gas Lawn Mower -
Product Brand
Toro -
Product Type
Walk Behind Mowers -
Product Series
30" (76 cm) Steel Deck -
Chassis Type
Walk Behind -
Swath
30 inch -
Discharge
Recycler & Side Discharge with Rear Bag -
Engine/Motor Manufacturer
Briggs & Stratton -
Engine/Motor Size
GrossTorque 10.0 flb -
Engine/Motor Type
4 Cycle -
Engine Starter
Recoil -
Traction Type
Rear WD
-
Engine: Ignition Coil Air Gap
.010" / .25mm -
Engine: Spark Plug Gap
.030"/ .76mm -
Chassis: Height of Cut Range
1.25-4.25", 1/2" increments -
Engine: Engine Speed
3400±100 RPM -
Engine: Engine Oil Type
18 oz. (.53l) 30w or 10w-30 / API SJ or higher -
Drive System: Ground Speed
Up to 5 mph -
Engine: Spark Plug
Briggs & Stratton 692051/692720 or Champion RC12YC







