Brush Cutter BRC-28
Product Information
- Model #: 23521
- Serial #: 417000000 - 999999999
- Product Type: Misc
Loading...
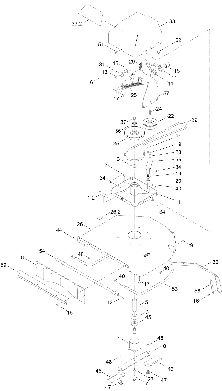
Assembly Drawings
Search for a part within assembly drawings:
-
Operator's Manual
-
Parts Catalog
-
Product Warranty
-
Schematic Drawing - Electrical
-
ACMA Declaration of Conformity
-
EU/UK Declaration of Conformity
Spark Arrestor Kit (Part # 131-4160)
Toro OEM spark arrestor prevents carbon build ups from being ejected from the engine and igniting a fire. When it comes to reliability, Toro delivers replacement parts designed to the exact engineering specifications of our equipment. For peace of mind, insist on Toro genuine parts.
Toro Brush Blade (Part # 132-7036-03)
Toro OEM brush blade clears and trims weeds, small trees, and other foliage not accessible by a lawn mower or rotary mower. Will-fit parts might look similar or claim similar functionality but only genuine Toro parts ensure your mower performs as it's intended by providing the perfect fit and maximum performance.
Toro Brush Cutter Flail Blade Kit (Part # 136-4622)
Toro flail blade kits Flail mowers cut grass very short and fine and can handle rough uneven surfaces. To best protect your investment and maintain optimal performance of your equipment, count on Toro genuine OEM parts.
Toro Brush Cutter Flail Blade End Kit (Part # 136-4623)
Toro genuine flail blade end kit. To best protect your investment and maintain optimal performance of your equipment, count on Toro genuine OEM parts.
Brush Cutter Deck Ski Kit (Part # 137-7608)
For tough clearing applications, The Toro brush deck ski is the ideal attachment. To best protect your investment and maintain optimal performance of your equipment, count on Toro genuine OEM parts.
Toro Full Synthetic 10W-30 Engine Oil (32 oz.) (Part # 138-6053)
Toro full synthetic 10W-30 engine oil. The easy engine oil choice for any outdoor power equipment
to increase performance and reliability.
10W30 4-Cycle Engine Oil - 32 oz. Bottle (Part # 38280)
The Toro 38280 Premium 4-Cycle Lawn Mower Engine Oil 10W-30 is specially formulated to meet specific 4-cycle engine manufacturer requirements calling for 10W-30. This lawn mower engine oil provides the ultimate protection for all 4-cycle OPE engines. The lawn mower engine oil is developed with Toro engineering to meet the standards for all air-cooled, liquid-cooled and diesel engines. To maximize the performance of your Toro lawn mower, we highly recommend using this Toro lawn mower engine oil, which has been specifically formulated for best results. The lawn mower engine oil provides extreme performance in all temperatures, enhancing the life of your lawn mower's engine.
-
Model #
23521 -
Serial #
417000000 - 999999999 -
Product Name
Brush Cutter BRC-28 -
Product Brand
Toro -
Product Type
Misc





