40cm Recycler Mower
Product Information
- Model #: 21022
- Serial #: 210000001 - 210999999
- Product Type: Walk Behind Mowers
Loading...
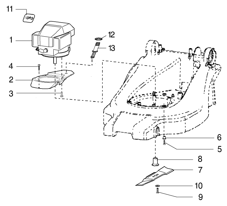
Assembly Drawings
Search for a part within assembly drawings:
-
Service Manual
-
Operator's Manual
-
Model #
21022 -
Serial #
210000001 - 210999999 -
Product Name
40cm Recycler Mower -
Product Brand
Toro -
Product Type
Walk Behind Mowers -
Product Series
40cm Rear Bagger/Recycler -
Chassis Type
Cast Deck WPM -
Swath
40cm -
Discharge
Rear Bagger -
Engine/Motor Manufacturer
Briggs & Stratton -
Engine/Motor Size
4 hp -
Engine/Motor Type
4 Cycle CARB1, EPA1 -
Engine Starter
Recoil -
Transmission Type
Hand Push



