Commercial Walk-Behind Mower, Floating Deck, T-Bar, Gear Drive with 32in Cutting Unit
Product Information
- Model #: 30092
- Serial #: 310000001 - 310999999
- Product Type: Walk Behind Mowers
Loading...
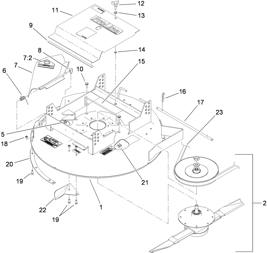
Assembly Drawings
Search for a part within assembly drawings:
-
Service Manual
-
Operator's Manual
-
Parts Catalog
-
Model #
30092 -
Serial #
310000001 - 310999999 -
Product Name
Commercial Walk-Behind Mower, Floating Deck, T-Bar, Gear Drive with 32in Cutting Unit -
Product Brand
Toro -
Product Type
Walk Behind Mowers -
Product Series
Mid-Size ProLine Mower -
Chassis Type
Mid-size - Floating Deck -
Swath
32 inch -
Discharge
Side -
Engine/Motor Manufacturer
Kawasaki -
Engine/Motor Size
18 hp -
Engine/Motor Type
4 Cycle EPA2 -
Engine Starter
Recoil -
Transmission Type
Gear -
Traction Type
2wd
-
Engine: Engine Speed
3600±100 RPM -
Engine: Spark Plug
NGK BPR4ES -
Engine: Spark Plug Gap
.030"/ .76mm -
Drive System: Gearbox Lubricant
Peerless Bentonite Grease -
Engine: Ignition Coil Air Gap
.008-.016" / .2-.4mm -
Chassis: Height of Cut Range
1-4.5", 1/4" increments -
Chassis: Tire Pressure
12-14 psi rear -
Drive System: Ground Speed
Fwd. 2.0 / 2.6 / 3.4 / 4.1 / 6.1 Rev. 3.0 mph -
Engine: Engine Oil Type
67 oz. (2.1 Liter) SAE 10W-30 or 10W-40





















