Super Recycler Lawnmower
Product Information
- Model #: 20464
- Serial #: 6900001 - 6999999
- Product Type: Walk Behind Mowers
Loading...
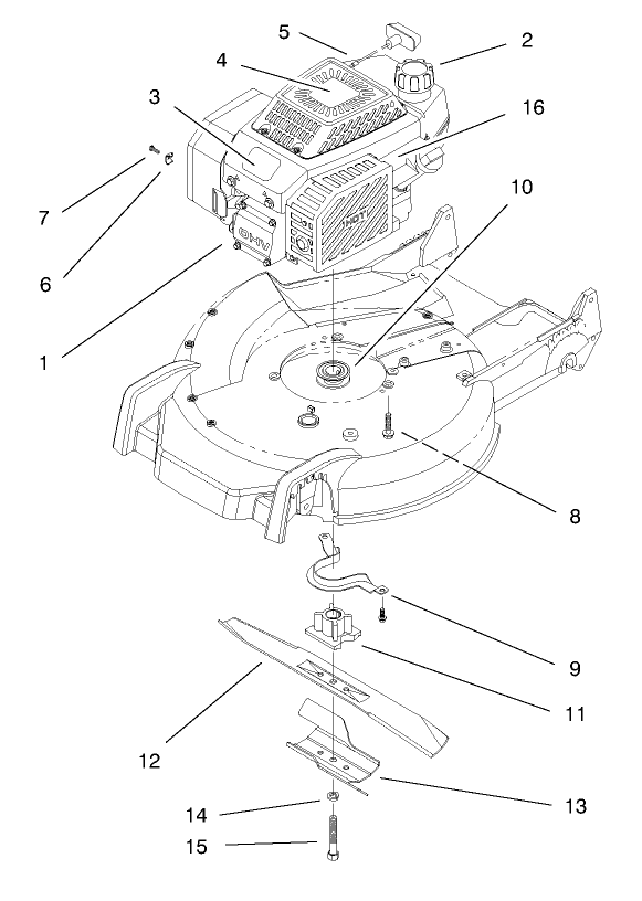
Assembly Drawings
Search for a part within assembly drawings:
-
Service Manual
-
Operator's Manual
-
Parts Catalog
Mow & Feed (Part # 52070)
Bagger Kit (Part # 59174)
Side Discharge Chute (Part # 59189)
-
Model #
20464 -
Serial #
6900001 - 6999999 -
Product Name
Super Recycler Lawnmower -
Product Brand
Toro -
Product Type
Walk Behind Mowers -
Product Series
21" (53cm) 3 in 1 / Recycler -
Chassis Type
Cast Deck WPM -
Swath
21 inch -
Discharge
Recycler -
Engine/Motor Manufacturer
Toro/Briggs & Stratton -
Engine/Motor Size
6 hp -
Engine/Motor Type
4 Cycle -
Engine Starter
Recoil -
Transmission Type
Gear
-
Chassis: Cut Height
1" to 3" by 1/2" -
Chassis: Weight
82 lbs. -
Chassis: Fuel Capacity
1.6 qts. -
Chassis: Wheel Size
8" x 2.00" -
Chassis: Deck Type
Aluminum -
Chassis: Discharge
Super Recycler -
Chassis: Drive System
Selfpropel (3 speed) -
Chassis: Engine Type
6 hp. GTS (OHV) -
Chassis: Cut Width
21" -
Chassis: Compliance System
BBC -
Drive System: Gearbox Lubricant
3 oz. (92gm) #2 Lithium grease -
Chassis: Height of Cut Range
1-3"; 1/2" increments -
Drive System: Ground Speed
1.8 / 2.7 / 3.8 mph -
Engine: Engine Oil Type
25 oz. (.74l) 30w or 10w-30 / API SH or higher -
Engine: Engine Speed
3000±150 RPM -
Engine: Ignition Coil Air Gap
.010" / .25mm -
Engine: Spark Plug
Champion RJ19LM -
Engine: Spark Plug Gap
.030"/ .76mm













